France

Medizintechnik-Patent der Woche Verfahren und Computerprogramm zur Visualisierung von Tomografiedaten

Quelle: DPMA 1 min Lesedauer

Anbieter zum Thema

Heute: ein Verfahren und Computerprogramm zur Visualisierung von Tomografiedaten. Die Medizintechnik-Industrie ist führend bei der Anmeldung von Patenten. Aus der Fülle an Einreichungen beim Deutschen Patent- und Markenamt wählt die Devicemed-Redaktion wöchentlich ihr Patent der Woche.

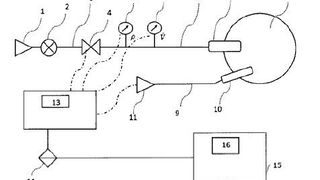
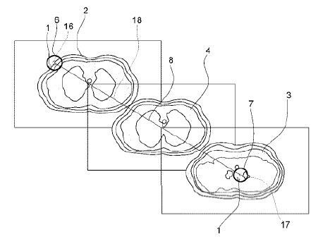
Verfahren und Computerprogramm zur Visualisierung von Tomografiedaten(Bild:  InLine-Med/DPMA)
Verfahren und Computerprogramm zur Visualisierung von Tomografiedaten
(Bild: InLine-Med/DPMA)

Die Erfindung betrifft ein Verfahren zur Visualisierung von durch ein tomografisches Untersuchungsverfahren an einem Patienten gewonnenen dreidimensionalen Tomografiedaten in wenigstens einer zweidimensionalen Schnittbilddarstellung auf einem Bildanzeigegerät mittels eines Computers, wobei einer dargestellten zweidimensionalen Schnittbilddarstellung jeweils eine vom Anwender ausgewählte Schichtebene in den dreidimensionalen Tomografiedaten zugeordnet wird. Die Erfindung betrifft außerdem ein Computerprogramm mit Programmcodemitteln einferichtet zur Durchführung eines derartigen Verfahrens, wenn das Computerprogramm auf einem Rechner ausgeführt wird.

Patentdaten:

  • Aktenzeichen: DE 10 2022 112 740 A1
  • Anmeldetag: 20.05.2022
  • Offenlegungstag: 23.11.2023
  • Anmelder: InLine-Med GmbH, 39106 Magdeburg, DE
  • Erfinder: Sánchez López, Juan Sebastián, 39124 Magdeburg, DE; Lagotzki, Sinja, 39112 Magdeburg, DE; Balakrishnan, Sathish, 39124 Magdeburg, DE; Soloman, Mathews Jabaraj, 39108 Magdeburg, DE

Die Angaben sind dem Depatisnet des Deutschen Patent- und Markenamtes im Original-Wortlaut entnommen.

Lesen Sie auch:

(ID:49807401)

Jetzt Newsletter abonnieren

Verpassen Sie nicht unsere besten Inhalte

Mit Klick auf „Newsletter abonnieren“ erkläre ich mich mit der Verarbeitung und Nutzung meiner Daten gemäß Einwilligungserklärung (bitte aufklappen für Details) einverstanden und akzeptiere die Nutzungsbedingungen. Weitere Informationen finde ich in unserer Datenschutzerklärung. Die Einwilligungserklärung bezieht sich u. a. auf die Zusendung von redaktionellen Newslettern per E-Mail und auf den Datenabgleich zu Marketingzwecken mit ausgewählten Werbepartnern (z. B. LinkedIn, Google, Meta).

Aufklappen für Details zu Ihrer Einwilligung