France

Medizintechnik-Patent der Woche Medizintechnische Fluidpumpe mit Möglichkeit zur Fernunterstützung

Quelle: DPMA 1 min Lesedauer

Anbieter zum Thema

Heute: eine medizintechnische Fluidpumpe mit Möglichkeit zur Fernunterstützung. Die Medizintechnik-Industrie ist führend bei der Anmeldung von Patenten. Aus der Fülle an Einreichungen beim Deutschen Patent- und Markenamt wählt die Devicemed-Redaktion wöchentlich ihr Patent der Woche.

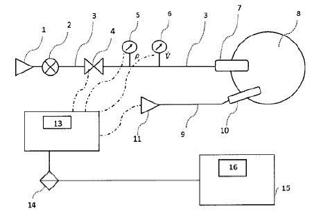
Medizintechnische Fluidpumpe mit Möglichkeit zur Fernunterstützung(Bild:  W.O.M. World of Medicine/DPMA)
Medizintechnische Fluidpumpe mit Möglichkeit zur Fernunterstützung
(Bild: W.O.M. World of Medicine/DPMA)

Die vorliegende Erfindung betrifft Betriebsmodi eines Medizingerätes zur Unterstützung und zum Gerätetraining durch einen über Datenleitung verbundenen Service-Mitarbeiter. Die Erfindung betrifft insbesondere die Simulation von Betriebszuständen eines Insufflators mittels eines Computers, der sich an einem anderen Ort befindet, z. B. in einem Schulungszentrum. Die Erfindung betrifft weiterhin die Simulation von Betriebszuständen einer medizintechnischen Flüssigkeitspumpe mittels eines Computers, der sich an einem anderen Ort befindet, z. B. in einem Schulungszentrum.

Patentdaten:

  • Aktenzeichen: DE 10 2022 001 604 A1
  • Anmeldetag: 06.05.2022
  • Offenlegungstag: 09.11.2023
  • Anmelder: W.O.M. World of Medicine GmbH, 10587 Berlin, DE
  • Erfinder: Hunger, Christian, 16515 Oranienburg, DE; Mase, Erika, 13187 Berlin, DE; Stier, Henrik, 13086 Berlin, DE; Carstens, Jan-Hendrik, 13086 Berlin, DE; Grundmann, Julia, 13187 Berlin, DE; Cappius, Hans-Joachim, 12157 Berlin, DE

Die Angaben sind dem Depatisnet des Deutschen Patent- und Markenamtes im Original-Wortlaut entnommen.

Lesen Sie auch:

(ID:49787422)

Jetzt Newsletter abonnieren

Verpassen Sie nicht unsere besten Inhalte

Mit Klick auf „Newsletter abonnieren“ erkläre ich mich mit der Verarbeitung und Nutzung meiner Daten gemäß Einwilligungserklärung (bitte aufklappen für Details) einverstanden und akzeptiere die Nutzungsbedingungen. Weitere Informationen finde ich in unserer Datenschutzerklärung. Die Einwilligungserklärung bezieht sich u. a. auf die Zusendung von redaktionellen Newslettern per E-Mail und auf den Datenabgleich zu Marketingzwecken mit ausgewählten Werbepartnern (z. B. LinkedIn, Google, Meta).

Aufklappen für Details zu Ihrer Einwilligung