France

Medizintechnik-Patent der Woche Vorrichtung zur Energiebestimmung und Bestimmung einer Tiefendosisverteilung von Teilchenstrahlung

Quelle: DPMA 1 min Lesedauer

Anbieter zum Thema

Heute: eine Vorrichtung zur Energiebestimmung und Bestimmung einer Tiefendosisverteilung von Teilchenstrahlung. Die Medizintechnik-Industrie ist führend bei der Anmeldung von Patenten. Aus der Fülle an Einreichungen beim Deutschen Patent- und Markenamt wählt die Devicemed-Redaktion wöchentlich ihr Patent der Woche.

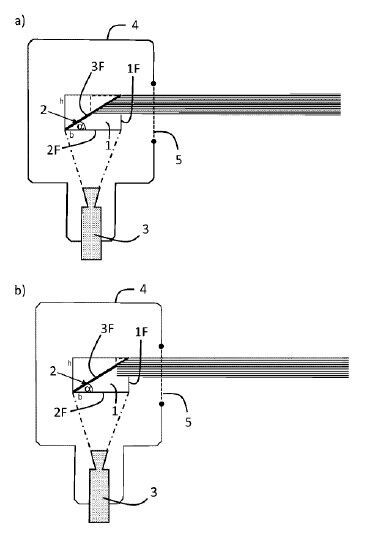
Vorrichtung zur Energiebestimmung und Bestimmung einer Tiefendosisverteilung von Teilchenstrahlung(Bild:  Helmholtz-Zentrum Berlin für Materialien und Energie/DPMA)
Vorrichtung zur Energiebestimmung und Bestimmung einer Tiefendosisverteilung von Teilchenstrahlung
(Bild: Helmholtz-Zentrum Berlin für Materialien und Energie/DPMA)

Die Erfindung betrifft eine Vorrichtung zur Energiebestimmung und Bestimmung einer Tiefendosisverteilung von Teilchenstrahlung mindestens umfassend einen Strahlungsdetektor (3) mit einem Objekt zur ortsaufgelösten Erfassung von Photonen, ein Phantom (1) in Form eines Keils, mit einer ersten und einer zweiten Fläche (1F, 2F), welche in einem 90° Winkel zueinander angeordnet sind und einer dritten Fläche 3F gegenüber dem Winkel der ersten und zweiten Fläche (1F, 2F) sowie eine Wechselwirkungsschicht (2), mindestens gebildet aus einem Leuchtstoff. Erfindungsgemäß ist dabei die Wechselwirkungsschicht (2) auf dem Phantom (1) auf der dritten Fläche (3F) angeordnet ist und die zweite Fläche (2F) parallel zu einer Ebene des Strahlungsdetektors (3).

Patentdaten:

  • Aktenzeichen: DE 10 2022 111 674 A1
  • Anmeldetag: 10.05.2022
  • Offenlegungstag: 16.11.2023
  • Anmelder: Helmholtz-Zentrum Berlin für Materialien und Energie Gesellschaft mit beschränkter Haftung, 14109 Berlin, DE
  • Erfinder: Dittwald, Alina Hanna, 14947 Nuthe-Urstromtal, DE; Fanselow, Timo, 14550 Groß Kreutz, DE; Bundesmann, Jürgen, 10555 Berlin, DE

Die Angaben sind dem Depatisnet des Deutschen Patent- und Markenamtes im Original-Wortlaut entnommen.

Lesen Sie auch:

(ID:49793634)

Jetzt Newsletter abonnieren

Verpassen Sie nicht unsere besten Inhalte

Mit Klick auf „Newsletter abonnieren“ erkläre ich mich mit der Verarbeitung und Nutzung meiner Daten gemäß Einwilligungserklärung (bitte aufklappen für Details) einverstanden und akzeptiere die Nutzungsbedingungen. Weitere Informationen finde ich in unserer Datenschutzerklärung. Die Einwilligungserklärung bezieht sich u. a. auf die Zusendung von redaktionellen Newslettern per E-Mail und auf den Datenabgleich zu Marketingzwecken mit ausgewählten Werbepartnern (z. B. LinkedIn, Google, Meta).

Aufklappen für Details zu Ihrer Einwilligung