France

Medizintechnik-Patent der Woche Hörinstrument und Hörinstrumentesystem

Quelle: DPMA 1 min Lesedauer

Anbieter zum Thema

Heute: ein Hörinstrument und Hörinstrumentesystem. Die Medizintechnik-Industrie ist führend bei der Anmeldung von Patenten. Aus der Fülle an Einreichungen beim Deutschen Patent- und Markenamt wählt die Devicemed-Redaktion wöchentlich ihr Patent der Woche.

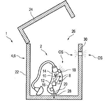
Hörinstrument und Hörinstrumentesystem(Bild:  Sivantos Pte. Ltd./DPMA)
Hörinstrument und Hörinstrumentesystem
(Bild: Sivantos Pte. Ltd./DPMA)

Die Erfindung betrifft ein Hörinstrument (2), aufweisend einen Eingangswandler (8) zum Empfang von für akustische Geschehnisse charakteristischen Signalen und Wandlung derer in korrespondierende Eingangssignale, einen Ausgangswandler (10) zur Ausgabe von aus den Eingangssignalen abgeleiteten Ausgangssignalen, einen Controller (12), der dazu eingerichtet ist, die Eingangssignale zu verarbeiten und daraus die Ausgangssignale zu erzeugen, ein Gehäuse (14) zur Umhausung des Eingangswandlers (8) und des Controllers (12), und eine LED (18), die mit dem Controller (12) sowohl zur Ausgabe von optischen Signalen (OS) als auch zum Empfang von optischen Signalen (OS) verschaltet ist, wobei der Controller (12) dazu eingerichtet ist, aus einem mittels der LED (18) empfangenen optischen Signal (OS) eine Information abzuleiten und diese zum weiteren Betrieb des Hörinstruments (2) zu nutzen.

Patentdaten:

  • Aktenzeichen: DE 10 2022 205 856 A1
  • Anmeldetag: 08.06.2022
  • Offenlegungstag: 14.12.2023
  • Anmelder: Sivantos Pte. Ltd., Singapur, SG
  • Erfinder: Brendel, Johannes, 91056 Erlangen, DE; Matschkal, Bernd, 90513 Zirndorf, DE

Die Angaben sind dem Depatisnet des Deutschen Patent- und Markenamtes im Original-Wortlaut entnommen.

Lesen Sie auch:

(ID:49843918)

Jetzt Newsletter abonnieren

Verpassen Sie nicht unsere besten Inhalte

Mit Klick auf „Newsletter abonnieren“ erkläre ich mich mit der Verarbeitung und Nutzung meiner Daten gemäß Einwilligungserklärung (bitte aufklappen für Details) einverstanden und akzeptiere die Nutzungsbedingungen. Weitere Informationen finde ich in unserer Datenschutzerklärung. Die Einwilligungserklärung bezieht sich u. a. auf die Zusendung von redaktionellen Newslettern per E-Mail und auf den Datenabgleich zu Marketingzwecken mit ausgewählten Werbepartnern (z. B. LinkedIn, Google, Meta).

Aufklappen für Details zu Ihrer Einwilligung