France

Medizintechnik-Patent der Woche Beschichtung von Hohlfasermembranen in der Medizintechnik

Quelle: DPMA 1 min Lesedauer

Anbieter zum Thema

Heute: Beschichtung von Hohlfasermembranen in der Medizintechnik. Die Medizintechnik-Industrie ist führend bei der Anmeldung von Patenten. Aus der Fülle an Einreichungen beim Deutschen Patent- und Markenamt wählt die Devicemed-Redaktion wöchentlich ihr Patent der Woche.

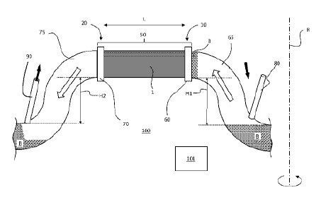
Beschichtung von Hohlfasermembranen in der Medizintechnik(Bild:  Fresenius Medical Care Deutschland/DPMA)
Beschichtung von Hohlfasermembranen in der Medizintechnik
(Bild: Fresenius Medical Care Deutschland/DPMA)

Die vorliegende Erfindung betrifft ein Verfahren zur Beschichtung einer, vorzugsweise porösen und/oder hydrophilen, Hohlfasermembran (1) mit einem Beschichtungsmaterial (B), mit den Schritten: Bereitstellen der Hohlfasermembran (1) mit einer zu beschichtenden Beschichtungsseite und einer dieser entgegengesetzten Sekundärseite; Bereitstellen des Beschichtungsmaterials (B) und Aufbringen des Beschichtungsmaterials (B) auf die Beschichtungsseite, oder nur auf diese.

Patentdaten:

  • Aktenzeichen: DE 10 2022 114 273 A1
  • Anmeldetag: 07.06.2022
  • Offenlegungstag: 07.12.2023
  • Anmelder: Fresenius Medical Care Deutschland GmbH, 61352 Bad Homburg, DE
  • Erfinder: Klewinghaus, Jürgen, 61352 Bad Homburg, DE

Die Angaben sind dem Depatisnet des Deutschen Patent- und Markenamtes im Original-Wortlaut entnommen.

Lesen Sie auch:

(ID:49832809)

Jetzt Newsletter abonnieren

Verpassen Sie nicht unsere besten Inhalte

Mit Klick auf „Newsletter abonnieren“ erkläre ich mich mit der Verarbeitung und Nutzung meiner Daten gemäß Einwilligungserklärung (bitte aufklappen für Details) einverstanden und akzeptiere die Nutzungsbedingungen. Weitere Informationen finde ich in unserer Datenschutzerklärung. Die Einwilligungserklärung bezieht sich u. a. auf die Zusendung von redaktionellen Newslettern per E-Mail und auf den Datenabgleich zu Marketingzwecken mit ausgewählten Werbepartnern (z. B. LinkedIn, Google, Meta).

Aufklappen für Details zu Ihrer Einwilligung