France

Medizintechnik-Patent der Woche Verfahren und System zum Ausführen einer bildbasierten Aufgabe

Quelle: DPMA 1 min Lesedauer

Anbieter zum Thema

Heute: ein Verfahren und System zum Ausführen einer bildbasierten Aufgabe. Die Medizintechnik-Industrie ist führend bei der Anmeldung von Patenten. Aus der Fülle an Einreichungen beim Deutschen Patent- und Markenamt wählt die Devicemed-Redaktion wöchentlich ihr Patent der Woche.

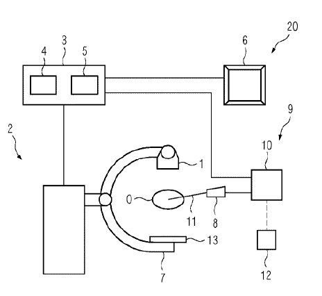
Verfahren und System zum Ausführen einer bildbasierten Aufgabe(Bild:  Siemens Healthcare GmbH/DPMA)
Verfahren und System zum Ausführen einer bildbasierten Aufgabe
(Bild: Siemens Healthcare GmbH/DPMA)

Das Ausführen bildbasierter Aufgaben, wie beispielsweise das Gewinnen eines Röntgenbilds mit gewünschtem Kontrast bei minimaler Röntgendosis, soll verbessert werden. Dazu wird ein Verfahren vorgeschlagen, bei dem ein oder mehrere Erfassungsparameter einer Bilderfassungsvorrichtung (2) in Abhängigkeit von der Aufgabe automatisch eingestellt wird/werden. Ein Bild eines biologischen Gewebes wird mit der Bilderfassungsvorrichtung (2), deren einer oder mehrere Erfassungsparameter automatisch eingestellt ist/sind, erfasst. Die Aufgabe wird auf Basis des Bilds des biologischen Gewebes ausgeführt.

Patentdaten:

  • Aktenzeichen: DE10 2022 206 846 A1
  • Anmeldetag: 05.07.2022
  • Offenlegungstag: 11.01.2024
  • Anmelder: Siemens Healthcare GmbH, München, DE
  • Erfinder: Hariharan, Sai Gokul, 91301 Forchheim, DE; Kowarschik, Markus, Dr., 90408 Nürnberg, DE; Preuhs, Elisabeth, Dr., 91058 Erlangen, DE

Die Angaben sind dem Depatisnet des Deutschen Patent- und Markenamtes im Original-Wortlaut entnommen.

Lesen Sie auch:

(ID:49869526)

Jetzt Newsletter abonnieren

Verpassen Sie nicht unsere besten Inhalte

Mit Klick auf „Newsletter abonnieren“ erkläre ich mich mit der Verarbeitung und Nutzung meiner Daten gemäß Einwilligungserklärung (bitte aufklappen für Details) einverstanden und akzeptiere die Nutzungsbedingungen. Weitere Informationen finde ich in unserer Datenschutzerklärung. Die Einwilligungserklärung bezieht sich u. a. auf die Zusendung von redaktionellen Newslettern per E-Mail und auf den Datenabgleich zu Marketingzwecken mit ausgewählten Werbepartnern (z. B. LinkedIn, Google, Meta).

Aufklappen für Details zu Ihrer Einwilligung