France

Medizintechnik-Patent der Woche Sterileinheit und Manipulator für die robotische Chirurgie

Quelle: DPMA 1 min Lesedauer

Anbieter zum Thema

Heute: eine Sterileinheit und Manipulator für die robotische Chirurgie. Die Medizintechnik-Industrie ist führend bei der Anmeldung von Patenten. Aus der Fülle an Einreichungen beim Deutschen Patent- und Markenamt wählt die Devicemed-Redaktion wöchentlich ihr Patent der Woche.

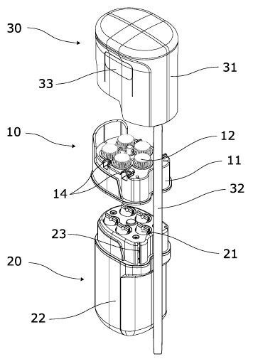
Sterileinheit und Manipulator für die robotische Chirurgie(Bild:  Avateramedical GmbH/DPMA)
Sterileinheit und Manipulator für die robotische Chirurgie
(Bild: Avateramedical GmbH/DPMA)

Die Erfindung betrifft eine Sterileinheit (10) zum sterilen Verbinden einer Instrumentenantriebseinheit (20) mit einem chirurgischen Instrument (30), umfassend eine Basis (11) mit mindestens einer kreisförmigen Durchgangsöffnung, wobei in der Durchgangsöffnung ein Übertragungselement (12) angeordnet ist, welches um eine Drehachse (A) drehbar gelagert und in Richtung der Drehachse axial in einem vorgegebenen Bewegungsbereich zwischen einer ersten und einer zweiten Endlage beweglich ist, und einen ersten Befestigungsmechanismus, mit dem die Sterileinheit (10) mit der Instrumentenantriebseinheit (20) verbunden wird, und einen zweiten Befestigungsmechanismus (14), mit dem die Sterileinheit (10) mit dem Instrument (30) verbunden wird. Um die Kopplung zwischen der Sterileinheit (10) und der Instrumentenantriebseinheit (20) zu verbessern, weist das Übertragungselement (12) an einer Umlauffläche und die Durchgangsöffnung an einer Durchgangswand jeweils einen zueinander koaxial ausgerichteten und zueinander komplementären konischen Bereich auf, die in der ersten Endlage form- und kraftschlüssig in Kontakt stehen, so dass eine Drehung des Übertragungselements (12) um die Drehachse relativ zu der Basis (11) gehemmt wird.

Patentdaten:

  • Aktenzeichen: DE 10 2022 102 806 A1
  • Anmeldetag: 07.02.2022
  • Offenlegungstag: 10.08.2023
  • Anmelder: avateramedical GmbH, 07745 Jena, DE
  • Erfinder: Mitzlaff, Lothar, Lagos, PT; Meyer, Anne-Ruth, 98693 Ilmenau, DE

Die Angaben sind dem Depatisnet des Deutschen Patent- und Markenamtes im Original-Wortlaut entnommen.

Lesen Sie auch:

(ID:49657615)

Jetzt Newsletter abonnieren

Verpassen Sie nicht unsere besten Inhalte

Mit Klick auf „Newsletter abonnieren“ erkläre ich mich mit der Verarbeitung und Nutzung meiner Daten gemäß Einwilligungserklärung (bitte aufklappen für Details) einverstanden und akzeptiere die Nutzungsbedingungen. Weitere Informationen finde ich in unserer Datenschutzerklärung. Die Einwilligungserklärung bezieht sich u. a. auf die Zusendung von redaktionellen Newslettern per E-Mail und auf den Datenabgleich zu Marketingzwecken mit ausgewählten Werbepartnern (z. B. LinkedIn, Google, Meta).

Aufklappen für Details zu Ihrer Einwilligung