France

Medizintechnik-Patent der Woche Schrank und Verfahren zum Trocknen von chirurgischen Instrumenten

Quelle: DPMA 1 min Lesedauer

Anbieter zum Thema

Aus der Fülle an Einreichungen beim Deutschen Patent- und Markenamt (DPMA) präsentiert die Devicemed-Redaktion wöchentlich das „Patent der Woche“. Heute: ein Schrank und Verfahren zum Trocknen von chirurgischen Instrumenten.

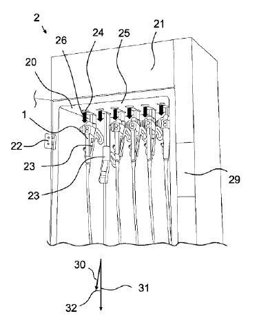
Schrank und Verfahren zum Trocknen von chirurgischen Instrumenten(Bild:  Olympus Winter & Ibe GmbH/DPMA)
Schrank und Verfahren zum Trocknen von chirurgischen Instrumenten
(Bild: Olympus Winter & Ibe GmbH/DPMA)

Die Erfindung betrifft einen Schrank (2) und ein Verfahren zum Trocknen von chirurgischen Instrumenten (1). Der Schrank (2) weist einen Innenraum (20) mit mindestens einer Befestigungseinrichtung (23) auf. Die Befestigungseinrichtung (23) ist ausgelegt, ein chirurgisches Instrument (1) in einer Weise zu halten, dass ein Steuerabschnitt (12) des chirurgischen Instruments (1) an einer vorgegebenen Halteposition und in einer vorgegebenen Ausrichtung angeordnet ist. Der Innenraum (20) weist mindestens eine über eine Versorgungsleitung (28) mit einer Gasquelle (27) verbundene Düse (24) auf. Die Düse (24) stößt einen Trocknungsgasstrom (26) direkt zu der vorgegebenen Halteposition in einer derartigen Richtung aus, dass der Trocknungsgasstrom (26) entlang und zwischen den Bedienknöpfen (13) des Bedienabschnitts (12) verläuft.

Patentdaten:

  • Aktenzeichen: DE 10 2023 127 115 A1
  • Anmeldetag: 05.10.2023
  • Offenlegungstag: 10.04.2025
  • Anmelder: OLYMPUS Winter & Ibe GmbH, 22045 Hamburg, DE
  • Erfinder: Aehlig, Dennis, 22081 Hamburg, DE

Die Angaben sind dem Depatisnet des Deutschen Patent- und Markenamtes im Original-Wortlaut entnommen.

Lesen Sie auch:

(ID:50387206)

Jetzt Newsletter abonnieren

Verpassen Sie nicht unsere besten Inhalte

Mit Klick auf „Newsletter abonnieren“ erkläre ich mich mit der Verarbeitung und Nutzung meiner Daten gemäß Einwilligungserklärung (bitte aufklappen für Details) einverstanden und akzeptiere die Nutzungsbedingungen. Weitere Informationen finde ich in unserer Datenschutzerklärung. Die Einwilligungserklärung bezieht sich u. a. auf die Zusendung von redaktionellen Newslettern per E-Mail und auf den Datenabgleich zu Marketingzwecken mit ausgewählten Werbepartnern (z. B. LinkedIn, Google, Meta).

Aufklappen für Details zu Ihrer Einwilligung