France

Medizintechnik-Patent der Woche Orthopädische Befestigungselemente, Instrumente und Verfahren

Quelle: DPMA 1 min Lesedauer

Anbieter zum Thema

Heute: Orthopädische Befestigungselemente, Instrumente und Verfahren. Die Medizintechnik-Industrie ist führend bei der Anmeldung von Patenten. Aus der Fülle an Einreichungen beim Deutschen Patent- und Markenamt wählt die Devicemed-Redaktion wöchentlich ihr Patent der Woche.

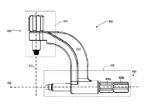
Orthopädische Befestigungselemente, Instrumente und Verfahren(Bild:  Medartis/DPMA)
Orthopädische Befestigungselemente, Instrumente und Verfahren
(Bild: Medartis/DPMA)

Es wird eine Lösung zum Einsetzen eines Fixierelements in eine Öffnung eines Knochenbefestigungselements offenbart. Die Lösung kann eine Führung mit einem Körper enthalten, der ein proximales Ende und ein distales Ende einschließt. Die Führung kann auch ein Führungselement einschließen, das mit dem Körper nahe dem proximalen Ende verbunden ist. Das Führungselement kann konfiguriert sein, eine Platzierung des Fixierelements zur Sicherung des Knochenbefestigungselements zu führen. Die Lösung kann ein Eingriffselement einschließen, das mit dem Körper nahe dem distalen Ende gekoppelt ist. Das Eingriffselement kann konfiguriert sein, mit dem Knochenbefestigungselement in Eingriff zu stehen, so dass das Führungselement relativ zum Knochenbefestigungselement um eine Eingriffsachse zu dem Führungselement bei einer der Vielzahl relativer Orientierungen um die Eingriffsachse drehbar ist.

Patentdaten:

  • Aktenzeichen: DE 10 2023 100 758 A1
  • Anmeldetag: 13.01.2023
  • Offenlegungstag: 20.07.2023
  • Anmelder: Medartis AG, Basel, CH
  • Erfinder: Holton, Thomas, Winona Lake, IN, US

Die Angaben sind dem Depatisnet des Deutschen Patent- und Markenamtes im Original-Wortlaut entnommen.

Lesen Sie auch:

(ID:49618932)

Jetzt Newsletter abonnieren

Verpassen Sie nicht unsere besten Inhalte

Mit Klick auf „Newsletter abonnieren“ erkläre ich mich mit der Verarbeitung und Nutzung meiner Daten gemäß Einwilligungserklärung (bitte aufklappen für Details) einverstanden und akzeptiere die Nutzungsbedingungen. Weitere Informationen finde ich in unserer Datenschutzerklärung. Die Einwilligungserklärung bezieht sich u. a. auf die Zusendung von redaktionellen Newslettern per E-Mail und auf den Datenabgleich zu Marketingzwecken mit ausgewählten Werbepartnern (z. B. LinkedIn, Google, Meta).

Aufklappen für Details zu Ihrer Einwilligung