France

Medizintechnik-Patent der Woche Medizinisches Implantat und Set

Quelle: DPMA 1 min Lesedauer

Anbieter zum Thema

Aus der Fülle an Einreichungen beim Deutschen Patent- und Markenamt (DPMA) präsentiert die Devicemed-Redaktion wöchentlich das „Patent der Woche“. Heute: ein medizinisches Implantat und Set.

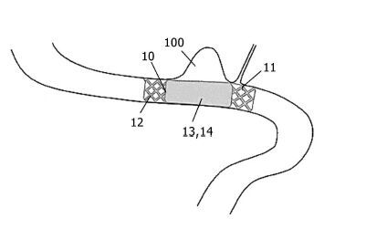
Medizinisches Implantat und Set(Bild:  Acandis/DPMA)
Medizinisches Implantat und Set
(Bild: Acandis/DPMA)

Die Erfindung betrifft ein medizinisches Implantat zur Behandlung einer lokalen Läsion (100) in einem Gefäß, insbesondere zur Aneurysmabehandlung, mit einem röhrchenförmigen Stützkörper (10), der komprimierbar und expandierbar ist, wobei der Stützkörper (10) in einem Ruhezustand einen proximalen Abschnitt (11) und einen distalen Abschnitt (12) aufweist, die durch ein Mittelsegment (13) miteinander verbunden sind, wobei die Länge des Mittelsegments (13) in axialer Richtung veränderbar ist, wobei eine Abdeckung (14) das Mittelsegment (13) überspannt und die Länge des Mittelsegments (13) beim Entlassen aus einer Zuführeinrichtung (50) derart veränderbar ist, dass die Läsion (100) durch die Abdeckung (14) zumindest teilweise abdeckbar ist.

Patentdaten:

  • Aktenzeichen: DE 10 2023 120 362 A1
  • Anmeldetag: 01.08.2023
  • Offenlegungstag: 06.02.2025
  • Anmelder: Acandis GmbH, 75177 Pforzheim, DE
  • Erfinder: Kruse, Magnus, Dr., 75175 Pforzheim, DE; Ding, Andreas, 76137 Karlsruhe, DE

Die Angaben sind dem Depatisnet des Deutschen Patent- und Markenamtes im Original-Wortlaut entnommen.

Lesen Sie auch:

(ID:50312642)

Jetzt Newsletter abonnieren

Verpassen Sie nicht unsere besten Inhalte

Mit Klick auf „Newsletter abonnieren“ erkläre ich mich mit der Verarbeitung und Nutzung meiner Daten gemäß Einwilligungserklärung (bitte aufklappen für Details) einverstanden und akzeptiere die Nutzungsbedingungen. Weitere Informationen finde ich in unserer Datenschutzerklärung. Die Einwilligungserklärung bezieht sich u. a. auf die Zusendung von redaktionellen Newslettern per E-Mail und auf den Datenabgleich zu Marketingzwecken mit ausgewählten Werbepartnern (z. B. LinkedIn, Google, Meta).

Aufklappen für Details zu Ihrer Einwilligung