France

Medizintechnik-Patent der Woche Manschettenförmiges medizinisches Implantat

Quelle: DPMA 1 min Lesedauer

Anbieter zum Thema

Aus der Fülle an Einreichungen beim Deutschen Patent- und Markenamt (DPMA) präsentiert die Devicemed-Redaktion wöchentlich das „Patent der Woche“. Heute: ein manschettenförmiges medizinisches Implantat.

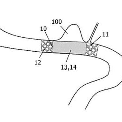
Manschettenförmiges medizinisches Implantat(Bild:  Neuroloop/DPMA)
Manschettenförmiges medizinisches Implantat
(Bild: Neuroloop/DPMA)

Die Erfindung bezieht sich auf ein manschettenförmiges medizinisches Implantat, das ein folienartiges, flexibles Flächensubstrat aufweist, das in eine Form in Art eines Geradzylinders überführbar oder überführt ist, in der das Flächensubstrat eine Zylindermantelinennfläche vorsieht, die im implantierten Zustand einen extravasalen oder extraneuronalen Flächenkontakt längs einer intrakorporalen strangförmigen Struktur in Form eines intrakorporalen Gefäßes oder eines Nervenfaserbündels auszubilden vermag.

Die Erfindung zeichnet sich dadurch aus, dass das folienartige, flexible Flächensubstrat zwei Randbereiche aufweist, die sich im implantierten Zustand längs einer der Geradzylinderform zugeordneten Zylinderachse gegenüberliegen, und dass die Randbereiche (10) jeweils durch eine wellenförmige Randkonturlinie (11) begrenzt sind.

Patentdaten:

  • Aktenzeichen: DE 10 2023 126 618 A1
  • Anmeldetag: 29.09.2023
  • Offenlegungstag: 03.04.2025
  • Anmelder: Neuroloop GmbH, 79110 Freiburg, DE
  • Erfinder: Plachta, Dennis, Dr., 79110 Freiburg, DE

Die Angaben sind dem Depatisnet des Deutschen Patent- und Markenamtes im Original-Wortlaut entnommen.

Lesen Sie auch:

(ID:50379988)

Jetzt Newsletter abonnieren

Verpassen Sie nicht unsere besten Inhalte

Mit Klick auf „Newsletter abonnieren“ erkläre ich mich mit der Verarbeitung und Nutzung meiner Daten gemäß Einwilligungserklärung (bitte aufklappen für Details) einverstanden und akzeptiere die Nutzungsbedingungen. Weitere Informationen finde ich in unserer Datenschutzerklärung. Die Einwilligungserklärung bezieht sich u. a. auf die Zusendung von redaktionellen Newslettern per E-Mail und auf den Datenabgleich zu Marketingzwecken mit ausgewählten Werbepartnern (z. B. LinkedIn, Google, Meta).

Aufklappen für Details zu Ihrer Einwilligung