France

Medizintechnik-Patent der Woche Flexibler Wirbelsäulenkonnetor und Wirbelsäulen-Stabilisierungssystem

Quelle: DPMA 1 min Lesedauer

Anbieter zum Thema

Aus der Fülle an Einreichungen beim Deutschen Patent- und Markenamt (DPMA) präsentiert die Devicemed-Redaktion wöchentlich das „Patent der Woche“. Heute: ein flexibler Wirbelsäulenkonnetor und Wirbelsäulen-Stabilisierungssystem.

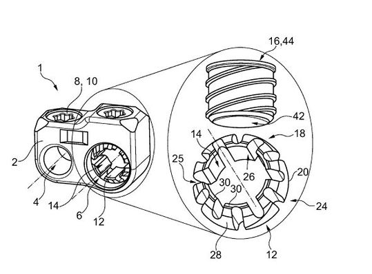
Flexibler Wirbelsäulenkonnetor und Wirbelsäulen-Stabilisierungssystem(Bild:  Aesculap AG/DPMA)
Flexibler Wirbelsäulenkonnetor und Wirbelsäulen-Stabilisierungssystem
(Bild: Aesculap AG/DPMA)

Die Offenbarung betrifft einen flexiblen Wirbelsäulenkonnetor (1), der dafür angepasst ist, wenigstens zwei Stäbe (A, B) eines Wirbelsäulen-Stabilisierungssystems (100) in einer einstellbaren Relativausrichtung, insbesondere Relativlage, zueinander zu verbinden, mit einem starren Konnektorgehäuse (2) das zumindest einen ersten Stab-Aufnahmeschacht (4) und einen zweiten Stab-Aufnahmeschacht (6) hat, wobei der erste Stab-Aufnahmeschacht (4) zur Aufnahme eines ersten Stabs (A) angepasst ist und ein erstes Stab-Fixierelement (8), vorzugsweise in Form einer Klemmschraube (10), einer Einspannschelle oder einer Klemme, zur Fixierung des aufgenommenen ersten Stabes (A) aufweist, und in dem zweiten Stab-Aufnahmeschacht (6) ein Ausrichtelement (12) eingesetzt ist, das eine Stabführungsöffnung (14) hat, in welche der zweite Stab (B) aufnehmbar ist, und das Ausrichtelement (12) in einem Ausrichtungszustand eine Einstellung einer Ausrichtung der Stabführungsöffnung (14) relativ zu dem Konnektorgehäuse (2) zulässt und mittels eines Arretierelements (16) in einen Arretierzustand versetzbar ist und die Ausrichtung arretiert. Daneben betrifft die Offenbarung ein Wirbelsäulen-Stabilisierungssystem (100) gemäß dem nebengeordneten Anspruch.

Patentdaten:

  • Aktenzeichen: DE 10 2023 121 952 A1
  • Anmeldetag: 16.08.2023
  • Offenlegungstag: 20.02.2025
  • Anmelder: Aesculap AG, 78532 Tuttlingen, DE
  • Erfinder: Jankowski, Tanja, 78073 Bad Dürrheim, DE; Marx, Irene, 78647 Trossingen, DE

Die Angaben sind dem Depatisnet des Deutschen Patent- und Markenamtes im Original-Wortlaut entnommen.

Lesen Sie auch:

(ID:50329592)

Jetzt Newsletter abonnieren

Verpassen Sie nicht unsere besten Inhalte

Mit Klick auf „Newsletter abonnieren“ erkläre ich mich mit der Verarbeitung und Nutzung meiner Daten gemäß Einwilligungserklärung (bitte aufklappen für Details) einverstanden und akzeptiere die Nutzungsbedingungen. Weitere Informationen finde ich in unserer Datenschutzerklärung. Die Einwilligungserklärung bezieht sich u. a. auf die Zusendung von redaktionellen Newslettern per E-Mail und auf den Datenabgleich zu Marketingzwecken mit ausgewählten Werbepartnern (z. B. LinkedIn, Google, Meta).

Aufklappen für Details zu Ihrer Einwilligung