France

Medizintechnik-Patent der Woche Verfahren zum Passivieren einer Oberfläche eines Werkstücks und Vorrichtung zum Passivieren von Werkstücken

Quelle: DPMA 1 min Lesedauer

Anbieter zum Thema

Heute: ein Verfahren zum Passivieren einer Oberfläche eines Werkstücks und eine Vorrichtung zum Passivieren von Werkstücken. Die Medizintechnik-Industrie ist führend bei der Anmeldung von Patenten. Aus der Fülle an Einreichungen beim Deutschen Patent- und Markenamt wählt die Devicemed-Redaktion wöchentlich ihr Patent der Woche.

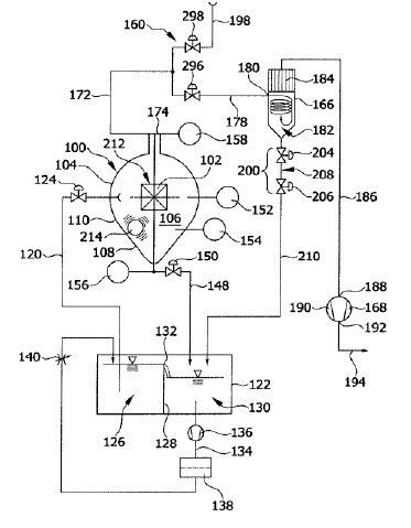
Verfahren zum Passivieren einer Oberfläche eines Werkstücks und Vorrichtung zum Passivieren von Werkstücken(Bild:  Ecoclean/DPMA)
Verfahren zum Passivieren einer Oberfläche eines Werkstücks und Vorrichtung zum Passivieren von Werkstücken
(Bild: Ecoclean/DPMA)

Um ein Verfahren zum Passivieren einer Oberfläche eines Werkstücks zu schaffen, welches auch bei Werkstücken mit komplexer Geometrie eine vollständige und ausreichende Passivierung der Oberfläche des Werkstücks in engen Hohlräumen des Werkstücks ermöglicht, wird vorgeschlagen, dass das Verfahren Folgendes umfasst:

  • Einbringen mindestens eines Werkstücks in eine Behandlungskammer;
  • Bereitstellen eines Passiviermittels in der Behandlungskammer;
  • zyklisches Ändern des Drucks in der Behandlungskammer, während das Passiviermittel sich in der Behandlungskammer befindet.

Patentdaten:

  • Aktenzeichen: DE 10 2022 108 314 A1
  • Anmeldetag: 06.04.2022
  • Offenlegungstag: 12.10.2023
  • Anmelder: Ecoclean GmbH, 70794 Filderstadt, DE
  • Erfinder: David, Hermann-Josef, 52156 Monschau, DE; Cordaro, Fabio, St. Gallen, CH

Die Angaben sind dem Depatisnet des Deutschen Patent- und Markenamtes im Original-Wortlaut entnommen.

Lesen Sie auch:

(ID:49748361)

Jetzt Newsletter abonnieren

Verpassen Sie nicht unsere besten Inhalte

Mit Klick auf „Newsletter abonnieren“ erkläre ich mich mit der Verarbeitung und Nutzung meiner Daten gemäß Einwilligungserklärung (bitte aufklappen für Details) einverstanden und akzeptiere die Nutzungsbedingungen. Weitere Informationen finde ich in unserer Datenschutzerklärung. Die Einwilligungserklärung bezieht sich u. a. auf die Zusendung von redaktionellen Newslettern per E-Mail und auf den Datenabgleich zu Marketingzwecken mit ausgewählten Werbepartnern (z. B. LinkedIn, Google, Meta).

Aufklappen für Details zu Ihrer Einwilligung