France

Medizintechnik-Patent der Woche Transportwagen für chirurgische Geräte

Quelle: DPMA 1 min Lesedauer

Anbieter zum Thema

Heute: ein Transportwagen für chirurgische Geräte. Die Medizintechnik-Industrie ist führend bei der Anmeldung von Patenten. Aus der Fülle an Einreichungen beim Deutschen Patent- und Markenamt wählt die Devicemed-Redaktion wöchentlich ihr Patent der Woche.

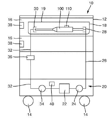
Transportwagen für chirurgische Geräte(Bild:  Olympus Winter & Ibe GmbH/DPMA)
Transportwagen für chirurgische Geräte
(Bild: Olympus Winter & Ibe GmbH/DPMA)

Die Erfindung betrifft unter anderem einen Transportwagen (10) für chirurgische Instrumente (100), insbesondere Endoskope (100). Der Transportwagen (10) weist mindestens ein Aufnahmefach (16) zur Aufnahme einer Instrumentenwanne (18), insbesondere einer verschließbaren Instrumentenwanne (18), zum Anordnen eines chirurgischen Instruments (100) in der Instrumentenwanne (18) auf und weist eine Vorreinigungseinrichtung (20) für ein vorzureinigendes chirurgisches Instrument (100) auf, das in der Instrumentenwanne (18) angeordnet ist oder angeordnet werden kann, wobei die Vorreinigungseinrichtung (20) mit dem zu reinigenden chirurgischen Instrument (100) mittels einer Koppeleinrichtung (28) verbindbar oder verbunden ist.

Patentdaten:

  • Aktenzeichen: DE 10 2022 110 216 A1
  • Anmeldetag: 27.04.2022
  • Offenlegungstag: 02.11.2023
  • Anmelder: Olympus Winter & Ibe GmbH, 22045 Hamburg, DE
  • Erfinder: Eschborn, Sascha, Dr., 22926 Ahrensburg, DE

Die Angaben sind dem Depatisnet des Deutschen Patent- und Markenamtes im Original-Wortlaut entnommen.

Lesen Sie auch:

(ID:49777681)

Jetzt Newsletter abonnieren

Verpassen Sie nicht unsere besten Inhalte

Mit Klick auf „Newsletter abonnieren“ erkläre ich mich mit der Verarbeitung und Nutzung meiner Daten gemäß Einwilligungserklärung (bitte aufklappen für Details) einverstanden und akzeptiere die Nutzungsbedingungen. Weitere Informationen finde ich in unserer Datenschutzerklärung. Die Einwilligungserklärung bezieht sich u. a. auf die Zusendung von redaktionellen Newslettern per E-Mail und auf den Datenabgleich zu Marketingzwecken mit ausgewählten Werbepartnern (z. B. LinkedIn, Google, Meta).

Aufklappen für Details zu Ihrer Einwilligung