France

Medizintechnik-Patent der Woche Prothese

Quelle: DPMA 1 min Lesedauer

Anbieter zum Thema

Heute: eine Prothese. Die Medizintechnik-Industrie ist führend bei der Anmeldung von Patenten. Aus der Fülle an Einreichungen beim Deutschen Patent- und Markenamt wählt die Devicemed-Redaktion wöchentlich ihr Patent der Woche.

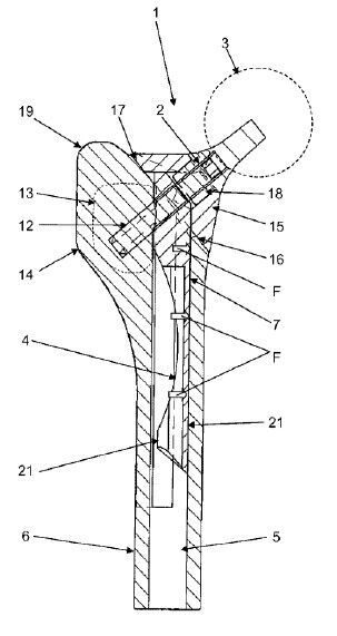
Eine Prothese(Bild:  mechamed GmbH/DPMA)
Eine Prothese
(Bild: mechamed GmbH/DPMA)

Die Erfindung betrifft eine Hüftgelenkprothese mit einer Aufnahme (2) für ein künstliches Prothesenelement (3) und mit einem Schaft (4) zur zementfreien intramedullären Verankerung in einem Markkanal (5) eines menschlichen Knochens (6). Der Schaft (4) hat einen proximalen Schaftbereich (7) mit einer ein Innengewinde (9) als Widerlager für die Aufnahme (2) aufweisenden Durchgangsöffnung (8), in welcher die Aufnahme (2) mit einem spitzen Winkel gegenüber der Mittellängsachse des Schafts (4) festlegbar ist. Der Schaft (4) bildet dadurch in der implantierten Position innerhalb des Markkanals (5) ein Widerlager für die Aufnahme (2), die sich mit einem Stützelement (15) an der Trennfläche (16) des Knochens (6) abstützt. Der Knochensubstanzverlust ist daher ebenso wie der Aufwand bei der Implantation und der Extraktion gering.

Patentdaten:

  • Aktenzeichen: DE 10 2022 125 997 A1
  • Anmeldetag: 07.10.2022
  • Offenlegungstag: 26.10.2023
  • Anmelder: mechamed GmbH, 30938 Burgwedel, DE
  • Erfinder: Meier, Norbert, 30938 Burgwedel, DE

Die Angaben sind dem Depatisnet des Deutschen Patent- und Markenamtes im Original-Wortlaut entnommen.

Lesen Sie auch:

(ID:49768759)

Jetzt Newsletter abonnieren

Verpassen Sie nicht unsere besten Inhalte

Mit Klick auf „Newsletter abonnieren“ erkläre ich mich mit der Verarbeitung und Nutzung meiner Daten gemäß Einwilligungserklärung (bitte aufklappen für Details) einverstanden und akzeptiere die Nutzungsbedingungen. Weitere Informationen finde ich in unserer Datenschutzerklärung. Die Einwilligungserklärung bezieht sich u. a. auf die Zusendung von redaktionellen Newslettern per E-Mail und auf den Datenabgleich zu Marketingzwecken mit ausgewählten Werbepartnern (z. B. LinkedIn, Google, Meta).

Aufklappen für Details zu Ihrer Einwilligung