France

Medizintechnik-Patent der Woche Medizinisches Instrument zur Herstellung einer Öffnung in einer Gefäß- oder Organwand

Quelle: DPMA 1 min Lesedauer

Anbieter zum Thema

Aus der Fülle an Einreichungen beim Deutschen Patent- und Markenamt (DPMA) präsentiert die Devicemed-Redaktion wöchentlich das „Patent der Woche“. Heute: ein medizinisches Instrument zur Herstellung einer Öffnung in einer Gefäß- oder Organwand.

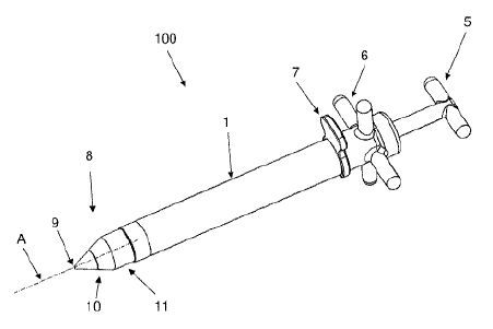
Medizinisches Instrument zur Herstellung einer Öffnung in einer Gefäß- oder Organwand(Bild:  Albert-Ludwigs-Universität Freiburg/DPMA)
Medizinisches Instrument zur Herstellung einer Öffnung in einer Gefäß- oder Organwand
(Bild: Albert-Ludwigs-Universität Freiburg/DPMA)

Beschrieben wird ein medizinisches Instrument zur Herstellung einer Öffnung in einer Gefäß- oder Organwand mit einem distalseitig an einer Schaftanordnung, die eine Schaftlängsachse aufweist, angebrachten Durchdringungskörper, der einen ersten Körperabschnitt sowie einen zweiten sich proximalseitig an den ersten Körperabschnitt anschließenden zweiten Körperabschnitt aufweist, wobei letzterer zumindest bereichsweise einen Hohlraum radial zur Schaftlängsachse begrenzt sowie proximalseitig eine den Hohlraum radial umschließende Schneidklinge besitzt.

Die Erfindung zeichnet sich dadurch aus, dass sich der Durchdringungskörper aus wenigstens einem ersten und einem zweiten Durchdringungskörpersegment zusammensetzt, die einen ersten und einen zweiten Körperabschnitt aufweisen. Der erste Körperabschnitt des ersten Durchdringungskörpersegments schließt distalseitig mit einer Spitze ab, der zweite begrenzt zumindest bereichsweise einen ersten Hohlraum sowie besitzt eine den ersten Hohlraum radial umschließende Schneidklinge. Der erste Körperabschnitt des zweiten Durchdringungskörpersegments ist im Querschnitt distalwärts verjüngend ausgebildet und weist distalseitig eine dem ersten Durchdringungskörpersegment zugewandte Ausnehmung auf, in die der zweite Körperabschnitt des ersten Durchdringungskörpersegments teilweise fügbar ist. Ferner begrenzt der zweite Körperabschnitt bereichsweise einen zweiten Hohlraum und besitzt eine den zweiten Hohlraum radial umschließende Schneidklinge.

Patentdaten:

  • Aktenzeichen: DE 10 2024 128 035 A1
  • Anmeldetag: 27.09.2024
  • Offenlegungstag: 02.04.2026
  • Anmelder: Albert-Ludwigs-Universität Freiburg, Körperschaft des öffentlichen Rechts, 79098 Freiburg, DE
  • Erfinder: Meißner, Florian, Dr., 79102 Freiburg, DE; Schön, Manuela, 74321 Bietigheim-Bissingen, DE; Bothe, Wolfgang, Prof. Dr., 79100 Freiburg, DE

Die Angaben sind dem Depatisnet des Deutschen Patent- und Markenamtes im Original-Wortlaut entnommen.

Lesen Sie auch:

(ID:50806502)

Jetzt Newsletter abonnieren

Verpassen Sie nicht unsere besten Inhalte

Mit Klick auf „Newsletter abonnieren“ erkläre ich mich mit der Verarbeitung und Nutzung meiner Daten gemäß Einwilligungserklärung (bitte aufklappen für Details) einverstanden und akzeptiere die Nutzungsbedingungen. Weitere Informationen finde ich in unserer Datenschutzerklärung. Die Einwilligungserklärung bezieht sich u. a. auf die Zusendung von redaktionellen Newslettern per E-Mail und auf den Datenabgleich zu Marketingzwecken mit ausgewählten Werbepartnern (z. B. LinkedIn, Google, Meta).

Aufklappen für Details zu Ihrer Einwilligung