France

Medizintechnik-Patent der Woche Medizinisches Instrument zum Einbringen einer fluidförmigen therapeutischen Substanz in einen Hohlraum eines Körpers

Quelle: DPMA 1 min Lesedauer

Anbieter zum Thema

Heute: ein medizinisches Instrument zum Einbringen einer fluidförmigen therapeutischen Substanz in einen Hohlraum eines Körpers. Die Medizintechnik-Industrie ist führend bei der Anmeldung von Patenten. Aus der Fülle an Einreichungen beim Deutschen Patent- und Markenamt wählt die Devicemed-Redaktion wöchentlich ihr Patent der Woche.

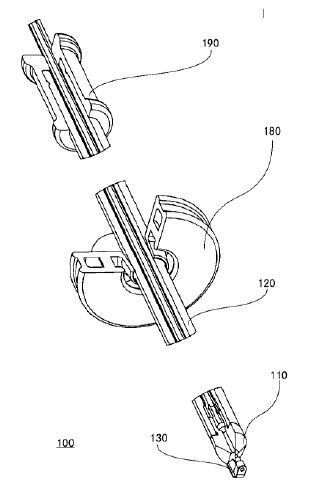
Ein medizinisches Instrument zum Einbringen einer fluidförmigen therapeutischen Substanz in einen Hohlraum eines Körpers(Bild:  Capnopharm/DPMA)
Ein medizinisches Instrument zum Einbringen einer fluidförmigen therapeutischen Substanz in einen Hohlraum eines Körpers
(Bild: Capnopharm/DPMA)

Die Erfindung betrifft ein medizinisches Instrument (100) zum Einbringen einer fluidförmigen therapeutischen Substanz in einen Hohlraum eines Körpers, wobei das medizinische Instrument (100) Folgendes aufweist: eine Düse (110) mit einem Düsenkopf (111) zum Zerstäuben der einzubringenden fluidförmigen therapeutischen Substanz; einen zumindest im Wesentlichen länglichen und zumindest im Wesentlichen starren Schaft (120), an dessen Ende (121) der Düsenkopf (111) angeordnet ist; und einen flexiblen Schlauch (140), der innerhalb des länglichen Schafts (120) angeordnet ist und mit einem Düsenkopf (111) fluidisch verbunden ist, wobei die Düse (110) eine Aufpralleinrichtung (130) aufweist, die einen Aufprallkörper (131) aufweist, der vor einer Düsenöffnung (112) des Düsenkopfes (111) zumindest im Wesentlichen koaxial zu der Düsenöffnung (112) angeordnet ist.

Patentdaten:

  • Aktenzeichen: DE 10 2022 104 560 A1
  • Anmeldetag: 25.02.2022
  • Offenlegungstag: 31.08.2023
  • Anmelder: Capnopharm UG (haftungsbeschränkt), 72070 Tübingen, DE
  • Erfinder: Solass, Wiebke, Dr., 72076 Tübingen, DE

Die Angaben sind dem Depatisnet des Deutschen Patent- und Markenamtes im Original-Wortlaut entnommen.

Lesen Sie auch:

(ID:49682769)

Jetzt Newsletter abonnieren

Verpassen Sie nicht unsere besten Inhalte

Mit Klick auf „Newsletter abonnieren“ erkläre ich mich mit der Verarbeitung und Nutzung meiner Daten gemäß Einwilligungserklärung (bitte aufklappen für Details) einverstanden und akzeptiere die Nutzungsbedingungen. Weitere Informationen finde ich in unserer Datenschutzerklärung. Die Einwilligungserklärung bezieht sich u. a. auf die Zusendung von redaktionellen Newslettern per E-Mail und auf den Datenabgleich zu Marketingzwecken mit ausgewählten Werbepartnern (z. B. LinkedIn, Google, Meta).

Aufklappen für Details zu Ihrer Einwilligung