France

Medizintechnik-Patent der Woche Fixiervorrichtung zur transversalen Knochendistraktion

Quelle: DPMA 1 min Lesedauer

Anbieter zum Thema

Heute: eine Fixiervorrichtung zur transversalen Knochendistraktion. Aus der Fülle an Einreichungen beim Deutschen Patent- und Markenamt wählt die Devicemed-Redaktion wöchentlich ihr Patent der Woche.

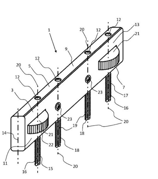
Fixiervorrichtung zur transversalen Knochendistraktion(Bild:  Roman Stauch/DPMA)
Fixiervorrichtung zur transversalen Knochendistraktion
(Bild: Roman Stauch/DPMA)

Der Gegenstand der Erfindung umfasst eine Fixiervorrichtung (1) zur transversalen Knochendistraktion mit einem länglichen Grundkörper (3), der eine knochenabgewandte Oberseite (5), eine knochenzugewandte Unterseite (7), einen Mittelabschnitt (9) sowie ein erstes Ende (11) und ein zweites Ende (13) aufweist, einer ersten äußeren Schanzschraube (15), die an dem ersten Ende (11) auf der Unterseite (7) des Grundkörpers (3) angebracht ist, und einer zweiten äußeren Schanzschraube (17), an dem zweiten Ende (13) auf der Unterseite (7) des Grundkörpers (3) angebracht ist, mindestens einer inneren Schanzschraube (19), die in dem Mittelabschnitt (9) auf der Unterseite (7) des Grundkörpers (3) angebracht ist, und mindestens einer Verschiebeeinrichtung (21), die dazu eingerichtet ist, die mindestens eine innere Schanzschraube (19) relativ zu den äußeren Schanzschrauben (15, 17) vom Knochen weg zu verschieben, wobei die inneren und und äußeren Schanzschrauben (15, 17, 19) dazu eingerichtet sind, an ihrem knochenzugewandten Ende mit dem Knochen in Eingriff gebracht zu werden, wobei die mindestens eine innere Schanzschraube (19), die äußeren Schanzschrauben (15, 17) und die Verschiebeeinrichtung (21) in einem funktionalen Zustand der Fixiervorrichtung (1) nicht über eine knochenabgewandte Oberfläche der Fixiervorrichtung (1) hinausragen, so dass die Oberfläche der Fixiervorrichtung (1) eine im Wesentlichen ebene, vorsprungsfreie Fläche bildet.

Patentdaten:

  • Aktenzeichen: DE 10 2022 120 185 A1
  • Anmeldetag: 10.08.2022
  • Offenlegungstag: 15.02.2024
  • Anmelder: Stauch, Roman, 97959 Assamstadt, DE
  • Erfinder: Erfinder gleich Anmelder

Die Angaben sind dem Depatisnet des Deutschen Patent- und Markenamtes im Original-Wortlaut entnommen.

Lesen Sie auch:

(ID:49917241)

Jetzt Newsletter abonnieren

Verpassen Sie nicht unsere besten Inhalte

Mit Klick auf „Newsletter abonnieren“ erkläre ich mich mit der Verarbeitung und Nutzung meiner Daten gemäß Einwilligungserklärung (bitte aufklappen für Details) einverstanden und akzeptiere die Nutzungsbedingungen. Weitere Informationen finde ich in unserer Datenschutzerklärung. Die Einwilligungserklärung bezieht sich u. a. auf die Zusendung von redaktionellen Newslettern per E-Mail und auf den Datenabgleich zu Marketingzwecken mit ausgewählten Werbepartnern (z. B. LinkedIn, Google, Meta).

Aufklappen für Details zu Ihrer Einwilligung