France

Medizintechnik-Patent der Woche Applikationsdüse zur Reinigung eines Implantat-Teils

Quelle: DPMA 1 min Lesedauer

Anbieter zum Thema

Heute: eine Applikationsdüse zur Reinigung eines Implantat-Teils. Aus der Fülle an Einreichungen beim Deutschen Patent- und Markenamt wählt die Devicemed-Redaktion wöchentlich ihr Patent der Woche.

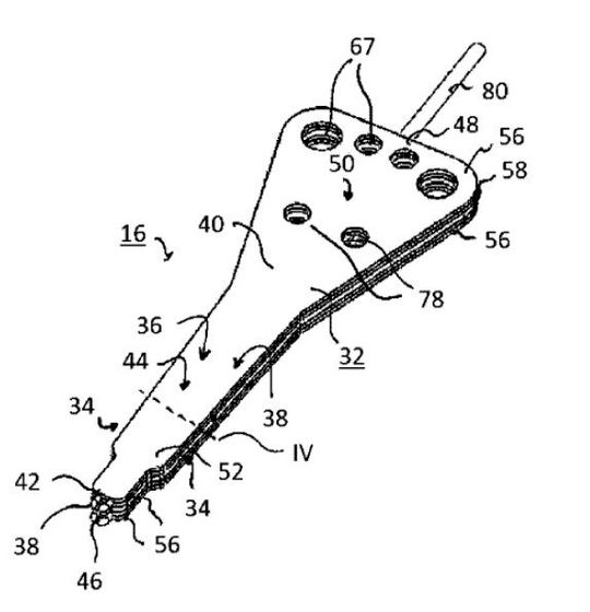
Applikationsdüse zur Reinigung eines Implantat-Teils(Bild:  GalvoSurge Dental AG/DPMA)
Applikationsdüse zur Reinigung eines Implantat-Teils
(Bild: GalvoSurge Dental AG/DPMA)

Eine Applikationsdüse (16) zur Ausbringung eines dentalen Wirkstoffs im Mundraum eines Patienten, insbesondere für ein System (1) zur Reinigung eines mit Biofilm verunreinigten Implantat-Teils (2), umfasst erfindungsgemäß einen sich in einer Längsrichtung von einem Anschlussbereich (40) aus zu einem freien Behandlungsende (42) hin flächig erstreckenden, sich in seinem Querschnitt in Richtung auf das Behandlungsende (42) hin verjüngenden Düsenkörper (32), in den zur Zuführung eines Reinigungselektrolyts vom Anschlussbereich (40) zum Behandlungsende (42) hin mindestens ein Medienkanal (36) integriert ist, der sich innerhalb des Düsenkörpers (32) verzweigt und ausgangsseitig in einer Mehrzahl von in einem im Bereich des Behandlungsendes (42) vorgesehenen Ausströmbereich (52) angeordneten Applikationsöffnungen (34) mündet.

Patentdaten:

  • Aktenzeichen: DE 10 2022 119 524 A1
  • Anmeldetag: 03.08.2022
  • Offenlegungstag: 08.02.2024
  • Anmelder: GalvoSurge Dental AG, Widnau, CH
  • Erfinder: Kaiser, Martin, 97437 Haßfurt, DE; Zipprich, Holger, 64342 Seeheim-Jugenheim, DE; Forster, Erich, Rüfenach, CH

Die Angaben sind dem Depatisnet des Deutschen Patent- und Markenamtes im Original-Wortlaut entnommen.

Lesen Sie auch:

(ID:49908724)

Jetzt Newsletter abonnieren

Verpassen Sie nicht unsere besten Inhalte

Mit Klick auf „Newsletter abonnieren“ erkläre ich mich mit der Verarbeitung und Nutzung meiner Daten gemäß Einwilligungserklärung (bitte aufklappen für Details) einverstanden und akzeptiere die Nutzungsbedingungen. Weitere Informationen finde ich in unserer Datenschutzerklärung. Die Einwilligungserklärung bezieht sich u. a. auf die Zusendung von redaktionellen Newslettern per E-Mail und auf den Datenabgleich zu Marketingzwecken mit ausgewählten Werbepartnern (z. B. LinkedIn, Google, Meta).

Aufklappen für Details zu Ihrer Einwilligung