France

Medizintechnik-Patent der Woche Chirurgisches Robotersystem und Steuerverfahren

Quelle: DPMA 1 min Lesedauer

Anbieter zum Thema

Heute: ein chirurgisches Robotersystem und Steuerverfahren. Die Medizintechnik-Industrie ist führend bei der Anmeldung von Patenten. Aus der Fülle an Einreichungen beim Deutschen Patent- und Markenamt wählt die Devicemed-Redaktion wöchentlich ihr Patent der Woche.

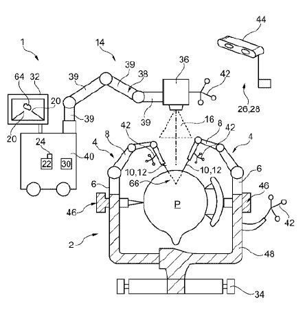
Ein chirurgisches Robotersystem und Steuerverfahren(Bild:  B. Braun New Ventures/DPMA)
Ein chirurgisches Robotersystem und Steuerverfahren
(Bild: B. Braun New Ventures/DPMA)

Die vorliegende Offenbarung betrifft ein chirurgisches Robotersystem (1) für einen chirurgischen Eingriff bei einem Patienten (P) mit: zumindest einer Patientenfixierungseinheit (2), die dafür angepasst ist, starr und unmittelbar an dem Patienten (P), insbesondere an einem Kopf des Patienten (P), befestigt zu werden, um zumindest einen Körperabschnitt des Patienten (P) mit einem Eingriffsbereich starr gegenüber der Patientenfixierungseinheit (2) zu fixieren; und zumindest einem chirurgischen, steuerbaren Roboter (4) mit einer Roboterbasis (6), die direkt mit der Patientenfixierungseinheit (2) verbunden ist, sowie einen an die Roboterbasis (6) angebundenen beweglichen Roboterarm (8) und einem an den Roboterarm (8), insbesondere einer endständigen Seite des Roboterarms (8), angebundenen, insbesondere gelagerten, Endeffektor (10), insbesondere einem chirurgischen Instrument (12). Daneben betrifft die vorliegende Offenbarung ein Steuerverfahren sowie ein computerlesbares Speichermedium gemäß den nebengeordneten Ansprüchen.

Patentdaten:

  • Aktenzeichen: DE 10 2021 133 060 A1
  • Anmeldetag: 14.12.2021
  • Offenlegungstag: 15.06.2023
  • Anmelder: B. Braun New Ventures GmbH, 79110 Freiburg, DE
  • Erfinder: Sarvestani, Amir, 79104 Freiburg, DE

Die Angaben sind dem Depatisnet des Deutschen Patent- und Markenamtes im Original-Wortlaut entnommen.

Lesen Sie auch:

(ID:49544863)

Jetzt Newsletter abonnieren

Verpassen Sie nicht unsere besten Inhalte

Mit Klick auf „Newsletter abonnieren“ erkläre ich mich mit der Verarbeitung und Nutzung meiner Daten gemäß Einwilligungserklärung (bitte aufklappen für Details) einverstanden und akzeptiere die Nutzungsbedingungen. Weitere Informationen finde ich in unserer Datenschutzerklärung. Die Einwilligungserklärung bezieht sich u. a. auf die Zusendung von redaktionellen Newslettern per E-Mail und auf den Datenabgleich zu Marketingzwecken mit ausgewählten Werbepartnern (z. B. LinkedIn, Google, Meta).

Aufklappen für Details zu Ihrer Einwilligung