France

Medizintechnik-Patent der Woche Vorrichtung zur Stimulation eines Hörnervs

Quelle: DPMA 1 min Lesedauer

Anbieter zum Thema

Aus der Fülle an Einreichungen beim Deutschen Patent- und Markenamt (DPMA) präsentiert die Devicemed-Redaktion wöchentlich das „Patent der Woche“. Heute: eine Vorrichtung zur Stimulation eines Hörnervs.

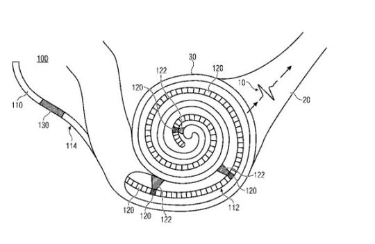
Vorrichtung zur Stimulation eines Hörnervs(Bild:  Fraunhofer-Gesellschaft zur Förderung der angewandten Forschung/DPMA)
Vorrichtung zur Stimulation eines Hörnervs
(Bild: Fraunhofer-Gesellschaft zur Förderung der angewandten Forschung/DPMA)

Die Anmeldung betrifft eine Vorrichtung zur Stimulation eines Hörnervs mit einem (CMOS-) Chip; einer Mehrzahl an optischen Elementen zur Stimulation des Hörnervs; und mindestens einer Treiberschaltung zur Steuerung der Mehrzahl an optischen Elementen. Die Mehrzahl an optischen Elementen und die mindestens eine Treiberschaltung sind in dem (CMOS-)Chip integriert.

Patentdaten:

  • Aktenzeichen: DE 10 2023 202 410 A1
  • Anmeldetag: 16.03.2023
  • Offenlegungstag: 19.09.2024
  • Anmelder: Fraunhofer-Gesellschaft zur Förderung der angewandten Forschung eingetragener Verein, 80686 München, DE
  • Erfinder: Vogel, Uwe, 01277 Dresden, DE; Wartenberg, Philipp, 01277 Dresden, DE; Richter, Bernd, 01277 Dresden, DE; Schlebusch, Dirk, 01277 Dresden, DE; Zeltner, Johannes, 01277 Dresden, DE; Lenk, Simone, 01277 Dresden, DE; Fehse, Karsten, 01277 Dresden, DE; Fritscher, Andreas, 01277 Dresden, DE; Brenner, Stephan, 01277 Dresden, DE

Die Angaben sind dem Depatisnet des Deutschen Patent- und Markenamtes im Original-Wortlaut entnommen.

Lesen Sie auch:

(ID:50175008)

Jetzt Newsletter abonnieren

Verpassen Sie nicht unsere besten Inhalte

Mit Klick auf „Newsletter abonnieren“ erkläre ich mich mit der Verarbeitung und Nutzung meiner Daten gemäß Einwilligungserklärung (bitte aufklappen für Details) einverstanden und akzeptiere die Nutzungsbedingungen. Weitere Informationen finde ich in unserer Datenschutzerklärung. Die Einwilligungserklärung bezieht sich u. a. auf die Zusendung von redaktionellen Newslettern per E-Mail und auf den Datenabgleich zu Marketingzwecken mit ausgewählten Werbepartnern (z. B. LinkedIn, Google, Meta).

Aufklappen für Details zu Ihrer Einwilligung