France

Medizintechnik-Patent der Woche Katheterverband

Quelle: DPMA 1 min Lesedauer

Anbieter zum Thema

Aus der Fülle an Einreichungen beim Deutschen Patent- und Markenamt (DPMA) präsentiert die Devicemed-Redaktion wöchentlich das „Patent der Woche“. Heute: ein Katheterverband.

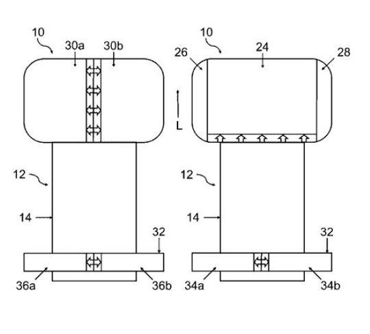
Ein Katheterverband(Bild:  Perfocath/DPMA)
Ein Katheterverband
(Bild: Perfocath/DPMA)

Die Erfindung betrifft einen Katheterverband (10) zum Verbinden von Katheteransatzstücken eines Langzeithämodialysekatheters, umfassend: i) eine Katheteraufnahme (12), umfassend eine Aufnahmetasche (14) mit einer Einführöffnung (16), ii) ein flächiges Klebeelement (18), umfassend eine Trägerschicht (20) und einer Klebeschicht (22), wobei das flächige Klebeelement (18) zumindest teilweise transparent ist, wobei das flächige Klebeelement (18) an drei Seiten über die Aufnahmetasche (14) hinausragt, iii) zumindest eine auf der Klebeschicht (22) angeordnete, abziehbare erste Abdeckschicht (24), wobei die erste Abdeckschicht (24) zumindest teilweise in einem zumindest teilweise transparenten Abschnitt des flächigen Klebeelements (18) angeordnet ist, iv) zumindest eine auf der Klebeschicht (22) angeordnete, abziehbare zweite Abdeckschicht (26), wobei die zweite Abdeckschicht (26) die Klebeschicht (22) auf einer ersten Seite seitlich der ersten Abdeckschicht (24) kontaktiert, und v) zumindest eine auf der Klebeschicht (22) angeordnete, abziehbare dritte Abdeckschicht (28), wobei die dritte Abdeckschicht (28) die Klebeschicht (22) auf einer zweiten Seite seitlich der ersten Abdeckschicht (24) kontaktiert, wobei der Katheterverband (10) so ausgelegt ist, dass die erste Abdeckschicht (24) von der Klebeschicht (22) abziehbar ist, ohne dass die zweite Abdeckschicht (26) oder die dritte Abdeckschicht (28) vollständig von der Klebeschicht (22) abgezogen werden.

Patentdaten:

  • Aktenzeichen: DE 10 2024 120 137 A1
  • Anmeldetag: 15.07.2024
  • Offenlegungstag: 05.09.2024
  • Anmelder: Perfocath GmbH, 60314 Frankfurt, DE
  • Erfinder: Henneberg, Klaus, 65187 Wiesbaden, DE

Die Angaben sind dem Depatisnet des Deutschen Patent- und Markenamtes im Original-Wortlaut entnommen.

Lesen Sie auch:

(ID:50155933)

Jetzt Newsletter abonnieren

Verpassen Sie nicht unsere besten Inhalte

Mit Klick auf „Newsletter abonnieren“ erkläre ich mich mit der Verarbeitung und Nutzung meiner Daten gemäß Einwilligungserklärung (bitte aufklappen für Details) einverstanden und akzeptiere die Nutzungsbedingungen. Weitere Informationen finde ich in unserer Datenschutzerklärung. Die Einwilligungserklärung bezieht sich u. a. auf die Zusendung von redaktionellen Newslettern per E-Mail und auf den Datenabgleich zu Marketingzwecken mit ausgewählten Werbepartnern (z. B. LinkedIn, Google, Meta).

Aufklappen für Details zu Ihrer Einwilligung