France

Medizintechnik-Patent der Woche Medizinischer Roboter mit unterschiedlichen Endeffektoren, Robotersystem und Steuerverfahren für einen medizinischen Roboter

Quelle: DPMA 1 min Lesedauer

Anbieter zum Thema

Aus der Fülle an Einreichungen beim Deutschen Patent- und Markenamt (DPMA) und Europäischen Patentamt (EPA) präsentiert die Devicemed-Redaktion wöchentlich das „Patent der Woche“. Heute: ein medizinischer Roboter mit unterschiedlichen Endeffektoren, Robotersystem und Steuerverfahren für einen medizinischen Roboter

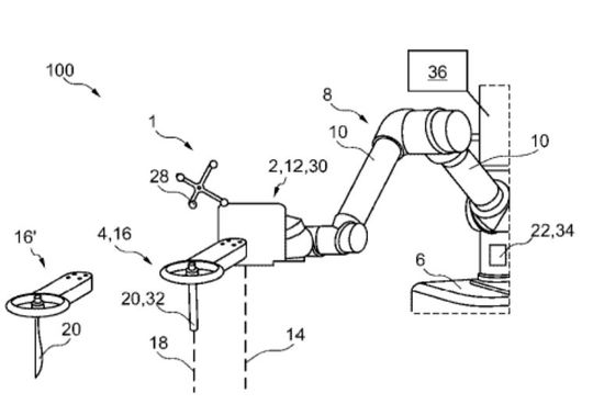
Medizinischer Roboter mit unterschiedlichen Endeffektoren, Robotersystem und Steuerverfahren für einen medizinischen Roboter(Bild:  B. Braun New Ventures/DPMA)
Medizinischer Roboter mit unterschiedlichen Endeffektoren, Robotersystem und Steuerverfahren für einen medizinischen Roboter
(Bild: B. Braun New Ventures/DPMA)

Die Offenlegung betrifft einen medizinischen, insbesondere chirurgischen, kollaborativer Roboter (1) zur Aktuierung eines Endeffektors (2, 4) bei einer Untersuchung oder einem Eingriff an einem Patienten (P), mit: einer Roboterbasis (6) als lokalen Anbindungspunkt des Roboters (1), einem an die Roboterbasis (6) angebundenen beweglichen und aktuierbaren Roboterarm (8) mit zumindest einem Roboterarm-Segment (10), zumindest zwei an den einen Roboterarm (8) angebundenen Endeffektoren (2, 4), wobei ein erster Endeffektor (2) eine Visualisierungseinheit (12) mit einer Visualisierungsachse (14) ist, und ein zweiter Endeffektor (4) eine medizinische Instrumenteneinheit (16) mit einem Instrument (20) und einer zugehörigen Instrumentenachse (18) ist, insbesondere mit einem chirurgischen Instrument, und einer Steuereinheit (22), die dafür angepasst ist, die räumliche Lage der Visualisierungseinheit (12) oder die räumliche Lage des Instruments (20) für einen Eingriff mittels des aktuierbaren Roboterarms (8) zu steuern. Daneben betrifft die Offenbarung ein Robotersystem (100), ein Steuerverfahren sowie ein computerlesbares Speichermedium und Computerprogramm gemäß den nebengeordneten Ansprüchen.

Patentdaten:

  • Aktenzeichen: DE 10 2023 103 872 A1
  • Anmeldetag: 16.02.2023
  • Offenlegungstag: 22.08.2024
  • Anmelder: B. Braun New Ventures GmbH, 79110 Freiburg, DE
  • Erfinder: Sarvestani, Amir, 79104 Freiburg, DE; Beyl, Tim, 79115 Freiburg, DE; Heinze, Peter, 76199 Karlsruhe, DE

Die Angaben sind dem Depatisnet des Deutschen Patent- und Markenamtes im Original-Wortlaut entnommen.

Lesen Sie auch:

(ID:50140949)

Jetzt Newsletter abonnieren

Verpassen Sie nicht unsere besten Inhalte

Mit Klick auf „Newsletter abonnieren“ erkläre ich mich mit der Verarbeitung und Nutzung meiner Daten gemäß Einwilligungserklärung (bitte aufklappen für Details) einverstanden und akzeptiere die Nutzungsbedingungen. Weitere Informationen finde ich in unserer Datenschutzerklärung. Die Einwilligungserklärung bezieht sich u. a. auf die Zusendung von redaktionellen Newslettern per E-Mail und auf den Datenabgleich zu Marketingzwecken mit ausgewählten Werbepartnern (z. B. LinkedIn, Google, Meta).

Aufklappen für Details zu Ihrer Einwilligung