France

Medizintechnik-Patent der Woche Chirurgische Schneidevorrichtung für die Otologie und Verfahren zu deren Betrieb

Quelle: DPMA 1 min Lesedauer

Anbieter zum Thema

Aus der Fülle an Einreichungen beim Deutschen Patent- und Markenamt (DPMA) und Europäischen Patentamt (EPA) präsentiert die Devicemed-Redaktion wöchentlich das „Patent der Woche“. Heute: eine chirurgische Schneidevorrichtung für die Otologie und Verfahren zu deren Betrieb

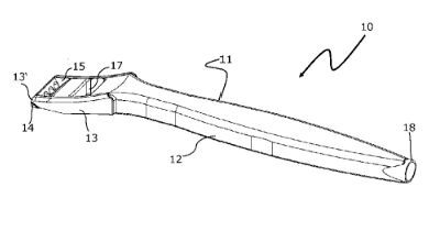
Chirurgische Schneidevorrichtung für die Otologie und Verfahren zu deren Betrieb (Bild:  Heinz Kurz GmbH/DPMA)
Chirurgische Schneidevorrichtung für die Otologie und Verfahren zu deren Betrieb
(Bild: Heinz Kurz GmbH/DPMA)

Eine chirurgische Schneidevorrichtung (10) der Otologie zur Herstellung einer dünnen Gewebe- oder Knorpelscheibe (18') aus körpereigenem Material (18) eines Patienten für otologische Anwendungen, mit einem länglichen, entlang einer Längsachse (z) ausgerichteten Vorrichtungskörper (11), der an einem ersten Ende einen stielartigen Handgriff (12) und am entgegengesetzten zweiten Ende einen Schneidkopf (13) mit einer Schneidklinge (14) umfasst, welche einen Klingenkörper (14') mit einer scharfen Schneidkante (14'') aufweist, ist dadurch gekennzeichnet, dass die Schneidklinge innerhalb eines in einer Richtung (x') quer zur Richtung der Längsachse z durchgängig offenen Schneidfensters (15) angeordnet ist; dass die Schneidklinge im Schneidfenster derart positioniert ist, dass ihre scharfe Schneidkante parallel zu einer Querachse (y) ausgerichtet ist, welche senkrecht zur Längsachse und schräg zur Richtung x' verläuft; und dass die Schneidklinge entweder starr oder um die Querachse beweglich mit dem Vorrichtungskörper verbunden ist. Damit kann der Schneidevorgang auf einfache Weise und unfallsicher durchgeführt werden, wobei besonders gleichmäßige Schneideergebnisse mit am Ende qualitativ hochwertigen Schneide-Produkten, vor allem Knorpel-oder Gewebe-Plättchen mit definierter, vorgebbarer Schichtdicke erzielbar sind.

Patentdaten:

  • Aktenzeichen: DE102023104616A1
  • Anmeldetag: 24.02.2023
  • Offenlegungstag: 29.08.2024
  • Anmelder: Heinz Kurz GmbH, 72144 Dußlingen, DE
  • Erfinder: Stiegele, Thomas, 72585 Riederich, DE; Sander, Alexander, 79822 Titisee-Neustadt, DE; Merstens, Matthias, 24568 Kaltenkirchen, DE

Die Angaben sind dem Depatisnet des Deutschen Patent- und Markenamtes im Original-Wortlaut entnommen.

Lesen Sie auch:

(ID:50148846)

Jetzt Newsletter abonnieren

Verpassen Sie nicht unsere besten Inhalte

Mit Klick auf „Newsletter abonnieren“ erkläre ich mich mit der Verarbeitung und Nutzung meiner Daten gemäß Einwilligungserklärung (bitte aufklappen für Details) einverstanden und akzeptiere die Nutzungsbedingungen. Weitere Informationen finde ich in unserer Datenschutzerklärung. Die Einwilligungserklärung bezieht sich u. a. auf die Zusendung von redaktionellen Newslettern per E-Mail und auf den Datenabgleich zu Marketingzwecken mit ausgewählten Werbepartnern (z. B. LinkedIn, Google, Meta).

Aufklappen für Details zu Ihrer Einwilligung