France

Medizintechnik-Patent der Woche Anordnung zum Zuführen eines medizinischen Implantats, Draht und Katheter

Quelle: DPMA 1 min Lesedauer

Anbieter zum Thema

Aus der Fülle an Einreichungen beim Deutschen Patent- und Markenamt (DPMA) präsentiert die Devicemed-Redaktion wöchentlich das „Patent der Woche“. Heute: eine Anordnung zum Zuführen eines medizinischen Implantats, Draht und Katheter.

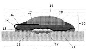
Anordnung zum Zuführen eines medizinischen Implantats, Draht und Katheter(Bild:  Acandis GmbH/DPMA)
Anordnung zum Zuführen eines medizinischen Implantats, Draht und Katheter
(Bild: Acandis GmbH/DPMA)

Zusammenfassung: 1. Anordnung zum Zuführen eines medizinischen Implantats in ein Körperhohlorgan mit einem Draht (10) und einem komprimierbaren und expandierbaren medizinischen Implantat (11), das röhrchenförmig ausgebildet ist, – wobei das Implantat (11) im komprimierten Zustand mit dem Draht (10) durch wenigstens ein Eingriffselement (12) zur Kraftübertragung in axialer Richtung lösbar verbunden ist, wobei das Eingriffselement (12) wenigstens einen Vorsprung (13) aufweist, der sich radial nach außen erstreckt und in das Implantat (11) eingreift, und – wobei das Implantat (11) im zumindest teilexpandierten Zustand durch eine Relativbewegung zwischen dem Eingriffselement (12) und dem Implantat (11) in einer Löserichtung freisetzbar ist, dadurch gekennzeichnet, dass das Eingriffselement (12) wenigstens eine Gleitfläche (14) aufweist, die in der Löserichtung geneigt und/oder gekrümmt ist und mit dem Vorsprung (13) zum Freisetzen des Implantats (11) zusammenwirkt.

Patentdaten:

  • Aktenzeichen: DE 10 2024 100 332 A1
  • Anmeldetag: 08.01.2024
  • Offenlegungstag: 10.07.2025
  • Anmelder: Acandis GmbH,75177 Pforzheim, DE
  • Erfinder: Lange, Alexander, 76135 Karlsruhe, DE; Braschkat Andrés, 75015 Bretten, DE; Kruschel, Jonas, 75305 Neuenbürg, DE; Jost, Tobias, 75210 Keltern, DE; Strobel, Martin, 75177 Pforzheim, DE; Brüderlin, Florian, 76137 Kralsruhe, DE

Die Angaben sind dem Depatisnet des Deutschen Patent- und Markenamtes im Original-Wortlaut entnommen.

Lesen Sie auch:

(ID:50483477)

Jetzt Newsletter abonnieren

Verpassen Sie nicht unsere besten Inhalte

Mit Klick auf „Newsletter abonnieren“ erkläre ich mich mit der Verarbeitung und Nutzung meiner Daten gemäß Einwilligungserklärung (bitte aufklappen für Details) einverstanden und akzeptiere die Nutzungsbedingungen. Weitere Informationen finde ich in unserer Datenschutzerklärung. Die Einwilligungserklärung bezieht sich u. a. auf die Zusendung von redaktionellen Newslettern per E-Mail und auf den Datenabgleich zu Marketingzwecken mit ausgewählten Werbepartnern (z. B. LinkedIn, Google, Meta).

Aufklappen für Details zu Ihrer Einwilligung