France

Medizintechnik-Patent der Woche Aktives implantierbares Medizinprodukt und Verfahren zu dessen Herstellung

Quelle: DPMA

Anbieter zum Thema

Heute: ein aktives implantierbares Medizinprodukt und Verfahren zu dessen Herstellung. Die Medizintechnik-Industrie ist führend bei der Anmeldung von Patenten. Aus der Fülle an Einreichungen beim Deutschen Patent- und Markenamt wählt die Devicemed-Redaktion wöchentlich ihr Patent der Woche.

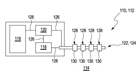
Aktives implantierbares Medizinprodukt und Verfahren zu dessen Herstellung.(Bild:  DPMA)
Aktives implantierbares Medizinprodukt und Verfahren zu dessen Herstellung.
(Bild: DPMA)

Die Erfindung betrifft ein aktives implantierbares Medizinprodukt (110) und ein Verfahren zu dessen Herstellung. Das aktive implantierbare Medizinprodukt (110) umfasst mindestens eine elektrisch leitfähige Elektrode (128) zur Stimulation einer zumindest teilweise einer Oberfläche (130) der Elektrode (128) zugewandten Gewebeumgebung (114) im Körper, wobei die mindestens eine Elektrode (128) zumindest ein Elektrodenmaterial (136) aufweist; mindestens eine Energiequelle (120) zur Bereitstellung von Energie zur Stimulation der Gewebeumgebung (114); und mindestens Anbindung (126) der mindestens einen Elektrode (128) an die mindestens eine Energiequelle (120), wobei die mindestens eine Elektrode (128) ferner an der der Gewebeumgebung (114) zugewandten Oberfläche (130) der mindestens einen Elektrode (128) eine biokompatible, unter Stimulationsbedingungen chemisch stabile Schicht (132) mindestens einer metallhaltigen Verbindung aufweist.

Die bei der Stimulation verwendeten Elektroden (128) des aktiven implantierbaren Medizinprodukts (110) weisen eine deutlich verringerte Korrosion auf, erfüllen gleichzeitig die Anforderungen an die Biokompatibilität und ermöglichen eine hohe, insbesondere kapazitive Ankopplung an die Gewebeumgebung (114).

Patentdaten:

  • Aktenzeichen: DE 10 2020 212 509 A1
  • Anmeldetag: 02.10.2020
  • Offenlegungstag: 07.04.2022
  • Anmelder: Fraunhofer-Gesellschaft zur Förderung der angewandten Forschung eingetragener Verein, 80686 München, DE; Johannes Kepler Universität Linz, Linz, AT; NÖ Landesgesundheitsagentur, St. Pölten, AT
  • Erfinder: Hassel, Achim, Linz, AT; Kollender, Jan Philipp, Linz, AT; Doll, Theodor, 80686 München, DE; Sprinzl, Georg Matthias, St. Pölten, AT

Die Angaben sind dem Depatisnet des Deutschen Patent- und Markenamtes im Original-Wortlaut entnommen.

Lesen Sie auch:

(ID:48194095)

Jetzt Newsletter abonnieren

Verpassen Sie nicht unsere besten Inhalte

Mit Klick auf „Newsletter abonnieren“ erkläre ich mich mit der Verarbeitung und Nutzung meiner Daten gemäß Einwilligungserklärung (bitte aufklappen für Details) einverstanden und akzeptiere die Nutzungsbedingungen. Weitere Informationen finde ich in unserer Datenschutzerklärung. Die Einwilligungserklärung bezieht sich u. a. auf die Zusendung von redaktionellen Newslettern per E-Mail und auf den Datenabgleich zu Marketingzwecken mit ausgewählten Werbepartnern (z. B. LinkedIn, Google, Meta).

Aufklappen für Details zu Ihrer Einwilligung