France

Medizintechnik-Patent der Woche Vorrichtung zum Versprühen von Medien an Innenseiten medizinischer Produkte

Quelle: DPMA

Anbieter zum Thema

Heute: eine Vorrichtung zum Versprühen von Medien an Innenseiten medizinischer Produkte. Die Medizintechnik-Industrie ist führend bei der Anmeldung von Patenten. Aus der Fülle an Einreichungen beim Deutschen Patent- und Markenamt wählt die Devicemed-Redaktion wöchentlich ihr Patent der Woche.

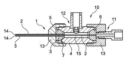
Eine Vorrichtung zum Versprühen von Medien an Innenseiten medizinischer Produkte.(Bild:  DPMA)
Eine Vorrichtung zum Versprühen von Medien an Innenseiten medizinischer Produkte.
(Bild: DPMA)

Vorrichtung (10) zum Versprühen oder Auftragen von flüssigen Medien unter Druckluftzufuhr, insbesondere an Innenseiten von medizinischen Produkten oder Gefäßen, mit einer Zweistoffdüse (1) aus mindesten zwei ineinander gesteckten Kanülen (2, 3) mit im wesentlichen gleichbleibendem Durchmesser über deren Längserstreckung hinweg, mit einem als Halterung für die Zweistoffdüse (1) ausgebildetem Düsenkörper (4), welcher mindestens jeweils einen Einlass für das Medium (11) und für Druckluft (12) aufweist, wobei am Düsenkörper (4) in der Form auf Aufnahmen (7, 8) jeweils angepasste Klemmeinsätze (5, 6) für eine abgedichtete Halterung und Fixierung einer Innenkanüle (2) für Medien und einer Außenkanüle (3) für Druckluft in Form von Hohlnadeln vorhanden sind, welche zum Befestigen der ineinandergesteckten Kanülen (2, 3) mit Bildung eines vordefinierten Spalts (14) zwischen Innenkanüle (2) und Außenkanüle (3) in den formentsprechenden Aufnahmen (7, 8) vorgesehen sind.

Patentdaten:

  • Aktenzeichen: DE 10 2020 132 999 A1
  • Anmeldetag: 10.12.2020
  • Offenlegungstag: 15.06.2022
  • Anmelder: HEKUMA GmbH, 85399 Hallbergmoos, DE
  • Erfinder: Huber, Michael, 85386 Eching, DE

Die Angaben sind dem Depatisnet des Deutschen Patent- und Markenamtes im Original-Wortlaut entnommen.

Lesen Sie auch:

(ID:48419703)

Jetzt Newsletter abonnieren

Verpassen Sie nicht unsere besten Inhalte

Mit Klick auf „Newsletter abonnieren“ erkläre ich mich mit der Verarbeitung und Nutzung meiner Daten gemäß Einwilligungserklärung (bitte aufklappen für Details) einverstanden und akzeptiere die Nutzungsbedingungen. Weitere Informationen finde ich in unserer Datenschutzerklärung. Die Einwilligungserklärung bezieht sich u. a. auf die Zusendung von redaktionellen Newslettern per E-Mail und auf den Datenabgleich zu Marketingzwecken mit ausgewählten Werbepartnern (z. B. LinkedIn, Google, Meta).

Aufklappen für Details zu Ihrer Einwilligung