France

Medizintechnik-Patent der Woche Verfahren und Anordnung zur Vorreinigung eines Endoskops

Quelle: DPMA 1 min Lesedauer

Anbieter zum Thema

Aus der Fülle an Einreichungen beim Deutschen Patent- und Markenamt (DPMA) präsentiert die Devicemed-Redaktion wöchentlich das „Patent der Woche“. Heute: ein Verfahren und Anordnung zur Vorreinigung eines Endoskops.

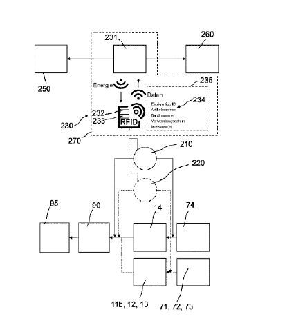
Verfahren und Anordnung zur Vorreinigung eines Endoskops(Bild:  Olympus Winter & Ibe GmbH/DPMA)
Verfahren und Anordnung zur Vorreinigung eines Endoskops
(Bild: Olympus Winter & Ibe GmbH/DPMA)

Die Erfindung betrifft ein Verfahren zur Vorreinigung eines Endoskops. Ferner betrifft die Erfindung eine Anordnung zur Vorreinigung eines Endoskops. Das Verfahren zur Vorreinigung eines Endoskops wird vorzugsweise unmittelbar oder kurz nach der Verwendung des Endoskops durchgeführt und umfasst: Bereitstellen eines Endoskops, das Kanäle zum Transport von Fluiden, Anschlussöffnungen, insbesondere zum Anschluss von Fluidschläuchen, und ein distales Ende des Endoskops umfasst, wobei sich jeder der Kanäle von einer der Anschlussöffnungen bis zum distalen Ende des Endoskops erstreckt; Saugen von Flüssigkeit in mindestens einen der Kanäle; Bestimmen eines elektrischen Parameters von Fluid oder Fluiden in mindestens einem der Kanäle, in den Flüssigkeit eingezogen wurde.

Patentdaten:

  • Aktenzeichen: DE 10 2023 124 824 A1
  • Anmeldetag: 14.09.2023
  • Offenlegungstag: 13.03.2025
  • Anmelder: Olympus Winter & Ibe GmbH, 22045 Hamburg, DE
  • Erfinder: Ottens, Benjamin, 22399 Hamburg, DE

Die Angaben sind dem Depatisnet des Deutschen Patent- und Markenamtes im Original-Wortlaut entnommen.

Lesen Sie auch:

(ID:50355824)

Jetzt Newsletter abonnieren

Verpassen Sie nicht unsere besten Inhalte

Mit Klick auf „Newsletter abonnieren“ erkläre ich mich mit der Verarbeitung und Nutzung meiner Daten gemäß Einwilligungserklärung (bitte aufklappen für Details) einverstanden und akzeptiere die Nutzungsbedingungen. Weitere Informationen finde ich in unserer Datenschutzerklärung. Die Einwilligungserklärung bezieht sich u. a. auf die Zusendung von redaktionellen Newslettern per E-Mail und auf den Datenabgleich zu Marketingzwecken mit ausgewählten Werbepartnern (z. B. LinkedIn, Google, Meta).

Aufklappen für Details zu Ihrer Einwilligung