France

Medizintechnik-Patent der Woche Patentgeschütztes User-Interface eines Fernpräsenzsystems

Ein Gastbeitrag von Christian Metzger 2 min Lesedauer

Anbieter zum Thema

Aus der Fülle an Einreichungen beim Deutschen Patent- und Markenamt (DPMA) und Europäischen Patentamt (EPA) präsentiert die Devicemed-Redaktion wöchentlich das „Patent der Woche“. Heute: ein patentgeschütztes User-Interface eines Fernpräsenzsystems.

Patentgeschütztes User-Interface eines Fernpräsenzsystems(Bild:  EP2542178B1)
Patentgeschütztes User-Interface eines Fernpräsenzsystems
(Bild: EP2542178B1)

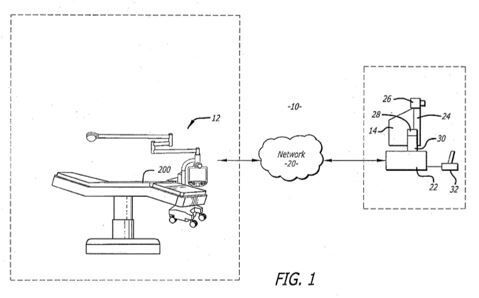
Fernpräsenzsysteme werden im Gesundheitswesen eingesetzt, um medizinische Betreuung aus der Ferne über das Internet zu ermöglichen. Auf einer Seite des Fernpräsenzsystems, an der Patientenstation, befindet sich der Patient vor einem Roboter mit Kamera, Mikrophon und Lautsprecher, auf der anderen Seite, der Arztstation, befindet sich der Arzt vor einem Steuerterminal. Die Patienten- und die Arztstation können Tausende von Kilometern voneinander entfernt sein und sind dennoch über das Internet in Echtzeit miteinander verbunden.

Auf diese Weise können Diagnosen gestellt, Patienten beraten, behandelt und überwacht werden - auch in dünn besiedelten Gebieten.

Wo liegt das Problem?

Die räumliche Distanz zwischen Patient und Arzt ist für manche Menschen nicht leicht zu überwinden. Oft müssen Autofahrten oder Patiententransporte stattfinden. In dünnbesiedelten Gebieten gibt es weniger oder keine Arztpraxen. Die engmaschige Überwachung eines Patienten ist nur vor Ort möglich.

Wie sieht die patentierte Lösung aus?

(Bild:  EP2542178B1)
(Bild: EP2542178B1)

Das US-Unternehmen Intouch Tech hat sich mit dem europäischen Patent EP2542178B1 ein System schützen lassen, das dem Arzt einen möglichst realistischen Eindruck des Patienten vermitteln soll.

Hierzu weist die Patientenstation eine auf das Gesicht des Patienten gerichtete Kopfkamera und eine weiter oben angebrachte Overhead-Kamera auf, die den gesamten Patienten im Raum erfasst.

Am Steuerterminal der Arztstation gibt es einen Touchscreen mit einer Schaltfläche, mit der der Arzt zwischen drei verschiedenen Ansichten umschalten kann: dem Bild der Kopfkamera, dem Bild der Overhead-Kamera oder beiden Bildern nebeneinander

Warum ist das interessant?

Das ist jetzt zugegebenermaßen nicht der ganz große Wurf.

Aus patentrechtlicher Sicht ist dieses Patent trotzdem spannend – denn letzten Ende wird durch dieses Patent das User-Interface zwischen dem Arzt und dem Steuerterminal geschützt.

Und das ist eine interessante Erkenntnis: Auch die Gestaltung eines User-Interface, das die Nutzereingabe betrifft, ist patentierbar.

Patentdaten

  • Aktenzeichen: EP2542178B1
  • Anmeldetag: 01.03.2011
  • Veröffentlichungstag: 09.09.2011
  • Anmelder: Intouch Technologies, Inc., 90 Castilian Drive Goleta, CA 93117/US
  • Erfinder: STUART, David A. 344 Pebble Hill Drive Santa Barbara California 93111/US, SANCHEZ, Daniel S. P.O. Box 14 Summerland California 93067/US, LAI, Fuji 90 Castilian Drive Goleta California 93117/US, HANRAHAN, Kevin P. 5045 Via Lara Lane Santa Barbara California 93111/US, JORDAN, Charles S. 2431 Calle Galicia Santa Barbara California 93109/US, ROE, David B. 1176 Camino Del Rio Santa Barbara California 93110/US, ROSENTHAL, James 29 S. Salinas St. Santa Barbara California 93103/US, MANGASER, Amante 6226 Marlborough Drive Goleta California 93117/US, WHITNEY, Blair P.O. Box 5732 Santa Barbara California 93150/US, WALTERS, Derek J. 238 Menlo Dr. Buellton California 93427/US

Christian Metzger
Als Patentanwalt und Ingenieur unterstützt Christian Metzger Medizintechnik-Unternehmen beim Aufbau eines Patentportfolios, das die eigenen Innovationen vor Nachahmung schützt und den strategischen und unternehmerischen Bedürfnissen entspricht. Insbesondere dort, wo Medizintechnik auf Software und Digitalisierung trifft und digitale Maschinen entstehen.

Dabei kann er auf seine breite technologische und industrielle Erfahrung zurückgreifen, die er auch in seinen Jahren als Entwicklungsingenieur und – davor – als Unternehmensberater bei McKinsey & Company gesammelt hat.

Christian Metzger ist als Partner bei Realpatent Patentanwälte tätig, einer 1959 gegründeten Boutique-Patentanwaltskanzlei, die sich dem gewerblichen Rechtsschutz widmet.

Kontakt zu Christian Metzger auf Linkedin.

Bildquelle: Fotoatelier Starnberg (Nadine Abzouzi)

Alle „Patente der Woche“ aus der Medizintechnik finden Sie in unserem Themenkanal Konstruktion.

(ID:49971996)

Jetzt Newsletter abonnieren

Verpassen Sie nicht unsere besten Inhalte

Mit Klick auf „Newsletter abonnieren“ erkläre ich mich mit der Verarbeitung und Nutzung meiner Daten gemäß Einwilligungserklärung (bitte aufklappen für Details) einverstanden und akzeptiere die Nutzungsbedingungen. Weitere Informationen finde ich in unserer Datenschutzerklärung. Die Einwilligungserklärung bezieht sich u. a. auf die Zusendung von redaktionellen Newslettern per E-Mail und auf den Datenabgleich zu Marketingzwecken mit ausgewählten Werbepartnern (z. B. LinkedIn, Google, Meta).

Aufklappen für Details zu Ihrer Einwilligung