France

Medizintechnik-Patent der Woche Medizingerät zum Auswerten eines pulsatilen Signals

Quelle: DPMA 1 min Lesedauer

Anbieter zum Thema

Heute: ein Medizingerät zum Auswerten eines pulsatilen Signals. Die Medizintechnik-Industrie ist führend bei der Anmeldung von Patenten. Aus der Fülle an Einreichungen beim Deutschen Patent- und Markenamt wählt die Devicemed-Redaktion wöchentlich ihr Patent der Woche.

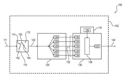
Ein Medizingerät zum Auswerten eines pulsatilen Signals.(Bild:  DPMA)
Ein Medizingerät zum Auswerten eines pulsatilen Signals.
(Bild: DPMA)

Die Erfindung betrifft ein Medizingerät (100) zum Bestimmen eines den peripheren Gefäßwiderstand indizierenden Widerstandsparameters (107) eines zu behandelnden Patienten, mit einem Empfangsmodul (110), einem Auslesemodul (120) und einem Berechnungsmodul (130). Das Empfangsmodul ist ausgebildet, ein pulsatiles Signal (112) zu empfangen, wobei das pulsatile Signal einen Blutdruckverlauf (114), insbesondere einen arteriellen Blutdruckverlauf, oder einen Blutvolumenverlauf des Patienten indiziert. Das Auslesemodul ist mit dem Empfangsmodul signaltechnisch verbunden und ausgebildet, eine Anzahl von vorbestimmten Verlaufsparametern (124) aus dem empfangenen pulsatilen Signal auszulesen und entsprechende ausgelesene Messwerte (134) für die Anzahl von vorbestimmten Verlaufsparametern bereitzustellen. Schließlich ist das Berechnungsmodul mit dem Auslesemodul signaltechnisch verbunden und ausgebildet, unter Verwendung einer vorbestimmten Schätzfunktion (136), basierend auf den ausgelesenen Messwerten und einem vorgegebenen das Schlagvolumen des Patienten indizierenden Parameter (135), den Widerstandsparameter des Patienten zu berechnen und auszugeben.

Patentdaten:

  • Aktenzeichen: DE 10 2020 124 582 A1
  • Anmeldetag: 22.09.2020
  • Offenlegungstag: 24.03.2022
  • Anmelder: Drägerwerk AG & Co. KGaA, 23558 Lübeck, DE; Karlsruher Institut für Technologie, 76131 Karlsruhe, DE
  • Erfinder: Stender, Birgit, 23558 Lübeck, DE; Kircher, Michael, 23558 Lübeck, DE

Die Angaben sind dem Depatisnet des Deutschen Patent- und Markenamtes im Original-Wortlaut entnommen.

Lesen Sie auch:

(ID:48123269)

Jetzt Newsletter abonnieren

Verpassen Sie nicht unsere besten Inhalte

Mit Klick auf „Newsletter abonnieren“ erkläre ich mich mit der Verarbeitung und Nutzung meiner Daten gemäß Einwilligungserklärung (bitte aufklappen für Details) einverstanden und akzeptiere die Nutzungsbedingungen. Weitere Informationen finde ich in unserer Datenschutzerklärung. Die Einwilligungserklärung bezieht sich u. a. auf die Zusendung von redaktionellen Newslettern per E-Mail und auf den Datenabgleich zu Marketingzwecken mit ausgewählten Werbepartnern (z. B. LinkedIn, Google, Meta).

Aufklappen für Details zu Ihrer Einwilligung