Medizintechnik-Patent der Woche Implantat-Set sowie Verfahren zum Vorbereiten eines Einsetzens eines Implantats
Heute: ein Implantat-Set sowie ein Verfahren zum Vorbereiten eines Einsetzens eines Implantats. Die Medizintechnik-Industrie ist führend bei der Anmeldung von Patenten. Aus der Fülle an Einreichungen beim Deutschen Patent- und Markenamt wählt die Devicemed-Redaktion wöchentlich ihr Patent der Woche.
Anbieter zum Thema

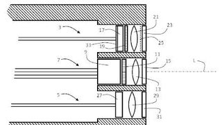
Die Erfindung betrifft ein Implantat-Set (1) mit einem patientenspezifischen Implantat (2), mit einer Transportvorrichtung (3), die an eine Außenkontur des Implantats (2) angepasst ist und in der das Implantat (2) aufgenommen ist, und mit einem Werkzeug (4) zum Befüllen des Implantats (2) mit Knochenspänen und/oder zum Verpressen der Knochenspäne, wobei das Implantat (2) eine Innenkontur besitzt, an die eine Außenkontur zumindest eines Endes (5, 6) des Werkzeugs (4) angepasst ist. Weiterhin betrifft die Erfindung ein Verfahren zum Vorbereiten eines Einsetzens des Implantats (2) mittels des Implantat-Sets (1).
Patentdaten:
- Aktenzeichen: DE 10 2019 110 385 A1
- Anmeldetag: 18.04.2019
- Offenlegungstag: 22.10.2020
- Anmelder: Karl Leibinger Medizintechnik GmbH & Co. KG, 78570 Mühlheim, DE
- Erfinder: Aksu, Adem, 78054 Villingen-Schwenningen, DE; Reinauer, Frank, 78576 Emmingen-Liptingen, DE; Wolfram, Tobias, 63303 Dreieich, DE
Die Angaben sind dem Depatisnet des Deutschen Patent- und Markenamtes im Original-Wortlaut entnommen.
Lesen Sie auch:
Medizintechnik-Patent der Woche
Chirurgischer Retraktor
Medizintechnik-Patent der Woche
Endoskopisches Instrument
Alle „Medizintechnikpatente der Woche“ finden Sie in unserem Themenkanal Konstruktion.
(ID:46950412)
