France

Medizintechnik-Patent der Woche Chirurgisches minimalinvasives Instrument

Quelle: DPMA 1 min Lesedauer

Anbieter zum Thema

Aus der Fülle an Einreichungen beim Deutschen Patent- und Markenamt (DPMA) präsentiert die Devicemed-Redaktion wöchentlich das „Patent der Woche“. Heute: ein chirurgisches minimalinvasives Instrument.

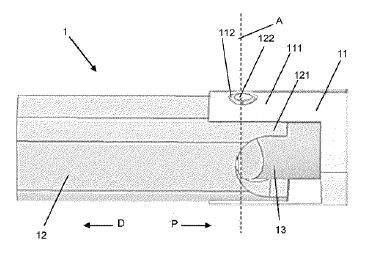
Chirurgisches minimalinvasives Instrument(Bild:  Aesculap AG/DPMA)
Chirurgisches minimalinvasives Instrument
(Bild: Aesculap AG/DPMA)

Die Erfindung schafft ein Instrument (1) für minimalinvasive Chirurgie, vorzugsweise für die Laparoskopie, aufweisend:

  • ein Schaftrohr (11);
  • ein Gelenkteil (12), welches an einem distalen Ende des Schaftrohrs (11) derart gelenkig mit dem Schaftrohr (11) verbunden ist, dass das Gelenkteil (12) bezüglich des Schaftrohrs (11) um eine Drehachse (A) schwenkbar ist; und
  • ein Innenteil (13), welches teilweise in das Schaftrohr (11) eingesetzt ist und über einen proximalen Aktuatormechanismus (15, 16) innerhalb des Schaftrohrs (11) axial bewegbar ist;
  • wobei das Innenteil (13) an seinem distalen Ende (133) derart mit dem Gelenkteil (12) gekoppelt ist, dass eine axiale Bewegung des Innenteils (13) eine Schwenkung des Gelenkteils (12) um die Drehachse (A) bewirkt.

Patentdaten:

  • Aktenzeichen: DE 10 2023 134 397 A1
  • Anmeldetag: 08.12.2023
  • Offenlegungstag: 12.06.2025
  • Anmelder: Aesculap AG, 78532 Tuttlingen, DE
  • Erfinder: Melcer, Marco, 72469 Meßstetten, DE; Reuter, Michael, 88637 Leibertingen, DE

Die Angaben sind dem Depatisnet des Deutschen Patent- und Markenamtes im Original-Wortlaut entnommen.

Lesen Sie auch:

(ID:50455186)

Jetzt Newsletter abonnieren

Verpassen Sie nicht unsere besten Inhalte

Mit Klick auf „Newsletter abonnieren“ erkläre ich mich mit der Verarbeitung und Nutzung meiner Daten gemäß Einwilligungserklärung (bitte aufklappen für Details) einverstanden und akzeptiere die Nutzungsbedingungen. Weitere Informationen finde ich in unserer Datenschutzerklärung. Die Einwilligungserklärung bezieht sich u. a. auf die Zusendung von redaktionellen Newslettern per E-Mail und auf den Datenabgleich zu Marketingzwecken mit ausgewählten Werbepartnern (z. B. LinkedIn, Google, Meta).

Aufklappen für Details zu Ihrer Einwilligung