France

Medizintechnik-Patent der Woche Bildgebungsvorrichtung, medizinisches System und Bildgebungsverfahren

Quelle: DPMA 1 min Lesedauer

Anbieter zum Thema

Aus der Fülle an Einreichungen beim Deutschen Patent- und Markenamt (DPMA) präsentiert die Devicemed-Redaktion wöchentlich das „Patent der Woche“. Heute: eine Bildgebungsvorrichtung, ein medizinisches System und ein Bildgebungsverfahren.

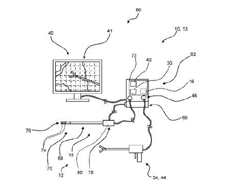
Bildgebungsvorrichtung, medizinisches System und Bildgebungsverfahren(Bild:  Karl Storz/DPMA)
Bildgebungsvorrichtung, medizinisches System und Bildgebungsverfahren
(Bild: Karl Storz/DPMA)

Die vorliegende Erfindung betrifft eine Bildgebungsvorrichtung (10), insbesondere Endoskopvorrichtung (13), umfassend eine Bilderfassungseinheit (12), die dazu eingerichtet ist, multispektrale und/oder hyperspektrale Bilderfassung durchzuführen und Bilddaten eines Objektbereichs (14) zu erzeugen, die räumliche und spektral Information umfassen, und eine Temperaturbestimmungseinheit (16), die dazu eingerichtet ist, nach Maßgabe eines Medienparameters, der ein im Objektbereich vorliegendes Medium anzeigt, und ferner nach Maßgabe von in den Bilddaten enthaltener räumlicher und spektraler Information, die sich auf ein Absorptionsverhalten, ein Reflexionsverhalten und/oder ein Fluoreszenzverhalten des Mediums bezieht, eine Temperatur des Mediums zu bestimmen.

Patentdaten:

  • Aktenzeichen: DE 10 2024 101 956 A1
  • Anmeldetag: 24.01.2024
  • Offenlegungstag: 24.07.2025
  • Anmelder: Karl Storz SE & Co. KG, 78532 Tuttlingen, DE
  • Erfinder: Wenzler, Sebastian, 78532 Tuttlingen, DE; Röschert, Isabelle, Dr., 78532 Tuttlingen, DE; Buschle, Lukas, 78532 Tuttlingen, DE

Die Angaben sind dem Depatisnet des Deutschen Patent- und Markenamtes im Original-Wortlaut entnommen.

Lesen Sie auch:

(ID:50495303)

Jetzt Newsletter abonnieren

Verpassen Sie nicht unsere besten Inhalte

Mit Klick auf „Newsletter abonnieren“ erkläre ich mich mit der Verarbeitung und Nutzung meiner Daten gemäß Einwilligungserklärung (bitte aufklappen für Details) einverstanden und akzeptiere die Nutzungsbedingungen. Weitere Informationen finde ich in unserer Datenschutzerklärung. Die Einwilligungserklärung bezieht sich u. a. auf die Zusendung von redaktionellen Newslettern per E-Mail und auf den Datenabgleich zu Marketingzwecken mit ausgewählten Werbepartnern (z. B. LinkedIn, Google, Meta).

Aufklappen für Details zu Ihrer Einwilligung