France

Medizintechnik-Patent der Woche Vorrichtung zur Unterstützung der Ausleuchtung und der anatomischen Grenzdarstellung bei medizinischen Eingriffen

Quelle: DPMA

Anbieter zum Thema

Heute: Eine Vorrichtung zur Unterstützung der Ausleuchtung und der anatomischen Grenzdarstellung bei medizinischen Eingriffen. Die Medizintechnik-Industrie ist führend bei der Anmeldung von Patenten. Aus der Fülle an Einreichungen beim Deutschen Patent- und Markenamt wählt die Devicemed-Redaktion wöchentlich ihr Patent der Woche.

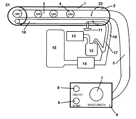
Eine Vorrichtung zur Unterstützung der Ausleuchtung und der anatomischen Grenzdarstellung bei medizinischen Eingriffen.(Bild:  DPMA)
Eine Vorrichtung zur Unterstützung der Ausleuchtung und der anatomischen Grenzdarstellung bei medizinischen Eingriffen.
(Bild: DPMA)

Die Erfindung betrifft eine Vorrichtung zur Unterstützung der Ausleuchtung und der anatomischen Grenzdarstellung bei medizinischen Eingriffen, insbesondere im Rahmen einer Endoskopie, Laparoskopie und/oder Diaphanoskopie, umfassend einen Hohlschlauch (1) mit einem proximalen Ende (21) und einem distalen Ende (22) und einer in einem Lumen (2) des Hohlschlauches (1) geführten separaten Lichtschnur (3), welche in deren Längserstreckung mit einer oder mehreren in Reihe geschalteten Lichtquellen (4) bestückt ist, deren Wellenlänge, Frequenz und/oder Intensität über eine Steuereinheit (6) individuell oder gemeinsam regelbar ist/sind, wobei der Hohlschlauch (1) flexibel formbar und zumindest im Bereich der Lichtquellen (4) lichtdurchlässig ausgestaltet ist.

Patentdaten:

  • Aktenzeichen: DE 10 2020 113 465 A1
  • Anmeldetag: 19.05.2020
  • Offenlegungstag: 25.11.2021
  • Anmelder: Universitätsmedizin der Johannes Gutenberg-Universität Mainz, Körperschaft des öffentlichen Rechts, 55131 Mainz, DE
  • Erfinder: Neumann, Helmut, Prof. Dr., 55122 Mainz, DE; Muensterer, Oliver, Prof. Dr., 55131 Mainz, DE; Mahler, Sara, Dr., 54290 Trier, DE; Lindner, Andreas, 55122 Mainz, DE

Die Angaben sind dem Depatisnet des Deutschen Patent- und Markenamtes im Original-Wortlaut entnommen.

Lesen Sie auch:

(ID:47837332)

Jetzt Newsletter abonnieren

Verpassen Sie nicht unsere besten Inhalte

Mit Klick auf „Newsletter abonnieren“ erkläre ich mich mit der Verarbeitung und Nutzung meiner Daten gemäß Einwilligungserklärung (bitte aufklappen für Details) einverstanden und akzeptiere die Nutzungsbedingungen. Weitere Informationen finde ich in unserer Datenschutzerklärung. Die Einwilligungserklärung bezieht sich u. a. auf die Zusendung von redaktionellen Newslettern per E-Mail und auf den Datenabgleich zu Marketingzwecken mit ausgewählten Werbepartnern (z. B. LinkedIn, Google, Meta).

Aufklappen für Details zu Ihrer Einwilligung