France

Medizintechnik-Patent der Woche Vorrichtung zum Erfassen von magnetischen Signalen, die von einem schlagenden Herzen erzeugt werden

Quelle: DPMA 1 min Lesedauer

Anbieter zum Thema

Aus der Fülle an Einreichungen beim Deutschen Patent- und Markenamt wählt die Devicemed-Redaktion wöchentlich ihr „Patent der Woche“. Heute: eine Vorrichtung zum Erfassen von magnetischen Signalen, die von einem schlagenden Herzen erzeugt werden.

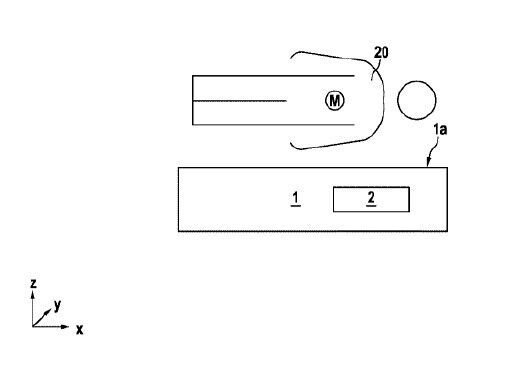
Vorrichtung zum Erfassen von magnetischen Signalen, die von einem schlagenden Herzen erzeugt werden(Bild:  Robert Bosch Gesellschaft/DPMA)
Vorrichtung zum Erfassen von magnetischen Signalen, die von einem schlagenden Herzen erzeugt werden
(Bild: Robert Bosch Gesellschaft/DPMA)

Die Erfindung betrifft eine Vorrichtung (2) zum Erfassen von magnetischen Signalen, die von einem schlagenden Herz (M) erzeugt werden, aufweisend wenigstens eine Stickstoff-Fehlstellen-Zentren-, NV, Magnetometereinheit (4), die dazu eingerichtet ist, eine magnetische Feldstärke und/oder Feldrichtung zu erfassen, wenigstens einen weiteren Sensor (5), eine Signalverarbeitungseinheit (170, 11), mit der die wenigstens eine NV-Magnetometereinheit (4) und der wenigstens eine weitere Sensor (5) verbunden sind, wobei die Vorrichtung dazu eingerichtet ist, mittels der Signalverarbeitungseinheit (170, 11) wenigstens eine effektive magnetische Feldstärke und/oder wenigstens eine effektive Feldrichtung aus den Signalen der wenigstens einen NV-Magnetometereinheit (4) und des wenigstens einen weiteren Sensors (5) zu bestimmen.

Patentdaten:

  • Aktenzeichen: DE10 2022 209 426 A1
  • Anmeldetag: 09.09.2022
  • Offenlegungstag: 14.03.2024
  • Anmelder: Robert Bosch Gesellschaft mit beschränkter Haftung, 70469 Stuttgart, DE
  • Erfinder: Dolde, Florian, 70599 Stuttgart, DE; Schaal, Frederik, 70734 Fellbach, DE; Krist, Florian, 70190 Stuttgart, DE; Cipolletti, Riccardo, 73312 Geislingen, DE; Wehrse, Eckhard, 70563 Stuttgart, DE

Die Angaben sind dem Depatisnet des Deutschen Patent- und Markenamtes im Original-Wortlaut entnommen.

Lesen Sie auch:

(ID:49965510)

Jetzt Newsletter abonnieren

Verpassen Sie nicht unsere besten Inhalte

Mit Klick auf „Newsletter abonnieren“ erkläre ich mich mit der Verarbeitung und Nutzung meiner Daten gemäß Einwilligungserklärung (bitte aufklappen für Details) einverstanden und akzeptiere die Nutzungsbedingungen. Weitere Informationen finde ich in unserer Datenschutzerklärung. Die Einwilligungserklärung bezieht sich u. a. auf die Zusendung von redaktionellen Newslettern per E-Mail und auf den Datenabgleich zu Marketingzwecken mit ausgewählten Werbepartnern (z. B. LinkedIn, Google, Meta).

Aufklappen für Details zu Ihrer Einwilligung