France

Medizintechnik-Patent der Woche Vorrichtung und Verfahren zum thermischen Behandeln eines Knochenimplantats

Quelle: DPMA

Anbieter zum Thema

Heute: eine Vorrichtung und ein Verfahren zum thermischen Behandeln eines Knochenimplantats. Die Medizintechnik-Industrie ist führend bei der Anmeldung von Patenten. Aus der Fülle an Einreichungen beim Deutschen Patent- und Markenamt wählt die Devicemed-Redaktion wöchentlich ihr Patent der Woche.

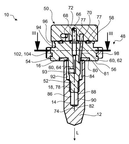
Eine Vorrichtung und ein Verfahren zum thermischen Behandeln eines Knochenimplantats.(Bild:  DPMA)
Eine Vorrichtung und ein Verfahren zum thermischen Behandeln eines Knochenimplantats.
(Bild: DPMA)

Eine Vorrichtung zum thermischen Behandeln eines Knochenimplantats (12) umfasst ein Einsatzbauteil (48), das einen in Längsrichtung (L) von einem Kopfbereich (54) abstehenden, in eine Aufnahmeöffnung (14) des Knochenimplantats (12) einsetzbaren Fortsatz (52) mit einer Haltegeometrie (78) aufweist, über die das Einsatzbauteil (48) mit einer Befestigungsgeometrie (18) des Knochenimplantats (12) verbindbar ist. Das Einsatzbauteil (48) hat zumindest einen Fluidkanal (60), der von temperiertem Fluid durchströmbar ist. Zur thermischen Behandlung wird Fluid auf eine vorgegebene Temperatur temperiert, die Vorrichtung (10) am Knochenimplantat (12) montiert, das Einsatzbauteil (48) mit dem temperierten Fluid durchströmt und abschließend die Vorrichtung (10) wieder vom Knochenimplantat (12) entfernt.

Patentdaten:

  • Aktenzeichen: DE 10 2021 107 758 A1
  • Anmeldetag: 26.03.2021
  • Offenlegungstag: 29.09.2022
  • Anmelder: Bürkert Werke GmbH & Co. KG, 74653 Ingelfingen, DE
  • Erfinder: Hettinger, Christoph, 74653 Ingelfingen, DE

Die Angaben sind dem Depatisnet des Deutschen Patent- und Markenamtes im Original-Wortlaut entnommen.

Lesen Sie auch:

(ID:48626320)

Jetzt Newsletter abonnieren

Verpassen Sie nicht unsere besten Inhalte

Mit Klick auf „Newsletter abonnieren“ erkläre ich mich mit der Verarbeitung und Nutzung meiner Daten gemäß Einwilligungserklärung (bitte aufklappen für Details) einverstanden und akzeptiere die Nutzungsbedingungen. Weitere Informationen finde ich in unserer Datenschutzerklärung. Die Einwilligungserklärung bezieht sich u. a. auf die Zusendung von redaktionellen Newslettern per E-Mail und auf den Datenabgleich zu Marketingzwecken mit ausgewählten Werbepartnern (z. B. LinkedIn, Google, Meta).

Aufklappen für Details zu Ihrer Einwilligung