France

Medizintechnik-Patent der Woche Verfahren und Vorrichtung zum Desinfizieren, insbesondere Sterilisieren, verpackter Güter

Quelle: DPMA

Anbieter zum Thema

Heute: ein Verfahren und eine Vorrichtung zum Desinfizieren, insbesondere Sterilisieren, verpackter Güter. Die Medizintechnik-Industrie ist führend bei der Anmeldung von Patenten. Aus der Fülle an Einreichungen beim Deutschen Patent- und Markenamt wählt die Devicemed-Redaktion wöchentlich ihr Patent der Woche.

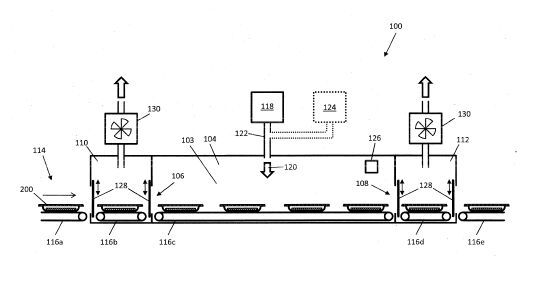
Ein Verfahren und eine Vorrichtung zum Desinfizieren, insbesondere Sterilisieren, verpackter Güter.(Bild:  DPMA)
Ein Verfahren und eine Vorrichtung zum Desinfizieren, insbesondere Sterilisieren, verpackter Güter.
(Bild: DPMA)

Die Erfindung betrifft ein Verfahren zum Desinfizieren, insbesondere Sterilisieren, eines Guts (210) in einer Verpackung (202), bei dem ein in einer Verpackung (202) verpacktes Gut (210) bereitgestellt wird, wobei die Verpackung (202) für Keime, insbesondere Bakterien und/oder Viren, undurchlässig ist und wobei die Verpackung (202) einen gasdurchlässigen Abschnitt (204) aufweist, bei dem mittels einer Plasmaquelle (2, 32, 118, 318, 618) ein reaktives Gas erzeugt wird und bei dem der gasdurchlässige Abschnitt (204) der Verpackung (202) mit dem reaktiven Gas beaufschlagt wird. Die Erfindung betrifft weiter ein Verfahren zum Desinfizieren, insbesondere Sterilisieren, eines Guts (210) in einer Verpackung (202), bei dem ein in einer Verpackung (202) verpacktes Gut (210) bereitgestellt wird, wobei die Verpackung (202) für Keime, insbesondere Bakterien und/oder Viren, undurchlässig ist, bei dem in einem Entladungsbereich (406, 506) elektrische Entladungen (412, 413, 512) erzeugt werden und bei dem die Verpackung (202) mit dem darin verpackten Gut (410) durch den Entladungsbereich (406, 506) transportiert wird. Weiterhin betrifft die Erfindung geeignete Vorrichtungen (100, 300, 400, 450, 500, 550) sowie Verwendungen der Vorrichtungen zur Durchführung der Verfahren.

Patentdaten:

  • Aktenzeichen: DE 10 2021 106 664 A1
  • Anmeldetag: 18.03.2021
  • Offenlegungstag: 22.09.2022
  • Anmelder: Plasmatreat GmbH, 33803 Steinhagen, DE
  • Erfinder: Buske, Christian, 33619 Bielefeld, DE

Die Angaben sind dem Depatisnet des Deutschen Patent- und Markenamtes im Original-Wortlaut entnommen.

Lesen Sie auch:

(ID:48592234)

Jetzt Newsletter abonnieren

Verpassen Sie nicht unsere besten Inhalte

Mit Klick auf „Newsletter abonnieren“ erkläre ich mich mit der Verarbeitung und Nutzung meiner Daten gemäß Einwilligungserklärung (bitte aufklappen für Details) einverstanden und akzeptiere die Nutzungsbedingungen. Weitere Informationen finde ich in unserer Datenschutzerklärung. Die Einwilligungserklärung bezieht sich u. a. auf die Zusendung von redaktionellen Newslettern per E-Mail und auf den Datenabgleich zu Marketingzwecken mit ausgewählten Werbepartnern (z. B. LinkedIn, Google, Meta).

Aufklappen für Details zu Ihrer Einwilligung