France

Medizintechnik-Patent der Woche Verfahren zur Herstellung eines biokompatiblen Implantats und Implantat

Quelle: DPMA

Anbieter zum Thema

Heute: ein Verfahren zur Herstellung eines biokompatiblen Implantats und ein Implantat. Die Medizintechnik-Industrie ist führend bei der Anmeldung von Patenten. Aus der Fülle an Einreichungen beim Deutschen Patent- und Markenamt wählt die Devicemed-Redaktion wöchentlich ihr Patent der Woche.

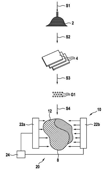
Ein Verfahren zur Herstellung eines biokompatiblen Implantats und ein Implantat.(Bild:  DPMA)
Ein Verfahren zur Herstellung eines biokompatiblen Implantats und ein Implantat.
(Bild: DPMA)

Die vorliegende Erfindung schafft ein Verfahren zur Herstellung eines biokompatiblen Implantats und ein entsprechendes biokompatibles Implantat. Das biokompatible Implantat (10) weist einen Implantatkörper (8) aus einem Polyaryletherketon-Kunststoff auf, wobei der Implantatkörper (8) wenigstens einen ersten porös ausgebildeten Teilabschnitt (12) und einen zweiten porös ausgebildeten Teilabschnitt (13) aufweist, wobei sich der erste poröse Teilabschnitt (12) und der zweite poröse Teilabschnitt hinsichtlich ihrer Porosität unterscheiden.

Patentdaten:

  • Aktenzeichen: DE 10 2020 210 038 A1
  • Anmeldetag: 07.08.2020
  • Offenlegungstag: 10.02.2022
  • Anmelder: Karl Leibinger Medizintechnik GmbH & Co. KG, 78570 Mühlheim, DE
  • Erfinder: Aksu, Adem, 78054 Villingen-Schwenningen, DE; Reinauer, Frank, 78576 Emmingen-Liptingen, DE; Wolfram, Tobias, 63303 Dreieich, DE

Die Angaben sind dem Depatisnet des Deutschen Patent- und Markenamtes im Original-Wortlaut entnommen.

Lesen Sie auch:

(ID:47990470)

Jetzt Newsletter abonnieren

Verpassen Sie nicht unsere besten Inhalte

Mit Klick auf „Newsletter abonnieren“ erkläre ich mich mit der Verarbeitung und Nutzung meiner Daten gemäß Einwilligungserklärung (bitte aufklappen für Details) einverstanden und akzeptiere die Nutzungsbedingungen. Weitere Informationen finde ich in unserer Datenschutzerklärung. Die Einwilligungserklärung bezieht sich u. a. auf die Zusendung von redaktionellen Newslettern per E-Mail und auf den Datenabgleich zu Marketingzwecken mit ausgewählten Werbepartnern (z. B. LinkedIn, Google, Meta).

Aufklappen für Details zu Ihrer Einwilligung