France

Medizintechnik-Patent der Woche Fluiddichte Schlauchverbindung

Quelle: DPMA

Anbieter zum Thema

Heute: eine fluiddichte Schlauchverbindung. Die Medizintechnik-Industrie ist führend bei der Anmeldung von Patenten. Aus der Fülle an Einreichungen beim Deutschen Patent- und Markenamt wählt die Devicemed-Redaktion wöchentlich ihr Patent der Woche.

Fluiddichte Schlauchverbindung(Bild:  DPMA)
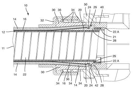
Fluiddichte Schlauchverbindung
(Bild: DPMA)

Die Erfindung betrifft u. a. eine fluiddichte Schlauchverbindung (10) für ein chirurgisches Instrument, insbesondere Endoskop, mit einem Schlauch (11), wobei der Schlauch (11) einen im Querschnitt runden, insbesondere kreisförmigen, Innenschlauch (12) und einen den Innenschlauch (12) umgebenden äußeren Schutzschlauch (14) aufweist, wobei an einem Endabschnitt des Schlauchs (11) der Innenschlauch (12) einen Wendelschlauchabschnitt (22) aufweist, wobei zwischen dem, vorzugsweise im Querschnitt kreisförmigen, Wendelschlauchabschnitt (22) des Innenschlauchs (12) und dem Schutzschlauch (14) eine im Längsschnitt keilförmige Hülse (20) angeordnet ist.

Patentdaten:

  • Aktenzeichen: DE 10 2021 105 016 A1
  • Anmeldetag: 02.03.2021
  • Offenlegungstag: 08.09.2022
  • Anmelder: OLYMPUS Winter & Ibe GmbH, 22045 Hamburg, DE
  • Erfinder: Henke, Philipp, 22453 Hamburg, DE; Torkuhl, Nils, 22885 Barsbüttel, DE; Thümen, Alrun, 22043 Hamburg, DE

Die Angaben sind dem Depatisnet des Deutschen Patent- und Markenamtes im Original-Wortlaut entnommen.

Lesen Sie auch:

(ID:48568735)

Jetzt Newsletter abonnieren

Verpassen Sie nicht unsere besten Inhalte

Mit Klick auf „Newsletter abonnieren“ erkläre ich mich mit der Verarbeitung und Nutzung meiner Daten gemäß Einwilligungserklärung (bitte aufklappen für Details) einverstanden und akzeptiere die Nutzungsbedingungen. Weitere Informationen finde ich in unserer Datenschutzerklärung. Die Einwilligungserklärung bezieht sich u. a. auf die Zusendung von redaktionellen Newslettern per E-Mail und auf den Datenabgleich zu Marketingzwecken mit ausgewählten Werbepartnern (z. B. LinkedIn, Google, Meta).

Aufklappen für Details zu Ihrer Einwilligung