France

Medizintechnik-Patent der Woche Verfahren und Systeme zum Bereitstellen einer Bilderfassungsinformation eines medizinischen Bildes

Quelle: DPMA 1 min Lesedauer

Anbieter zum Thema

Aus der Fülle an Einreichungen beim Deutschen Patent- und Markenamt (DPMA) präsentiert die Devicemed-Redaktion wöchentlich das „Patent der Woche“. Heute: Verfahren und Systeme zum Bereitstellen einer Bilderfassungsinformation eines medizinischen Bildes.

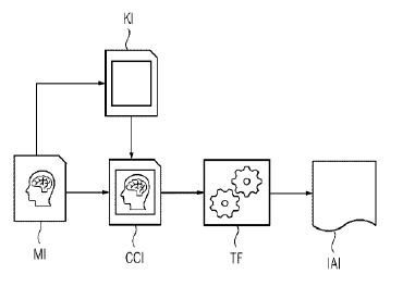
Verfahren und Systeme zum Bereitstellen einer Bilderfassungsinformation eines medizinischen Bildes(Bild:  Siemens Healthineers/DPMA)
Verfahren und Systeme zum Bereitstellen einer Bilderfassungsinformation eines medizinischen Bildes
(Bild: Siemens Healthineers/DPMA)

Es sind computerimplementierte Verfahren und Systeme zum Bereitstellen einer Bilderfassungsinformation eines medizinischen Bildes bereitgestellt. Die Verfahren und Systeme implementieren eine Vielzahl von Schritten. Ein Schritt ist auf das Empfangen des medizinischen Bildes ausgerichtet. Ein anderer Schritt ist auf das Transformieren des medizinischen Bildes (oder Daten des medizinischen Bildes) in die Frequenzdomäne ausgerichtet, um ein k-Raum-Bild zu erhalten. Ein anderer Schritt ist auf das Bestimmen der Bilderfassungsinformation durch Anwenden einer trainierten Funktion am k-Raum-Bild (oder an Daten des k-Raum-Bildes) ausgerichtet. Ein anderer Schritt ist auf das Bereitstellen der Bilderfassungsinformation ausgerichtet.

Patentdaten:

  • Aktenzeichen: DE 10 2024 201 496 A1
  • Anmeldetag: 19.02.2024
  • Offenlegungstag: 21.08.2025
  • Anmelder: Siemens Healthineers AG, München, DE
  • Erfinder: Valadez, Gerardo Hermosillo, Dr., West Chester, US; Iyer, Kritika, Conshohocken, US; Qian, Enlin, Cliffside, US; Shinagawa, Yoshihisa, Dr., Downingtown, PA, US

Die Angaben sind dem Depatisnet des Deutschen Patent- und Markenamtes im Original-Wortlaut entnommen.

Lesen Sie auch:

(ID:50523347)

Jetzt Newsletter abonnieren

Verpassen Sie nicht unsere besten Inhalte

Mit Klick auf „Newsletter abonnieren“ erkläre ich mich mit der Verarbeitung und Nutzung meiner Daten gemäß Einwilligungserklärung (bitte aufklappen für Details) einverstanden und akzeptiere die Nutzungsbedingungen. Weitere Informationen finde ich in unserer Datenschutzerklärung. Die Einwilligungserklärung bezieht sich u. a. auf die Zusendung von redaktionellen Newslettern per E-Mail und auf den Datenabgleich zu Marketingzwecken mit ausgewählten Werbepartnern (z. B. LinkedIn, Google, Meta).

Aufklappen für Details zu Ihrer Einwilligung