France

Medizintechnik-Patent der Woche Sterilisiersiebschale mit Fixiergriff

Quelle: DPMA

Anbieter zum Thema

Heute: eine Sterilisiersiebschale mit Fixiergriff. Die Medizintechnik-Industrie ist führend bei der Anmeldung von Patenten. Aus der Fülle an Einreichungen beim Deutschen Patent- und Markenamt wählt die Devicemed-Redaktion wöchentlich ihr Patent der Woche.

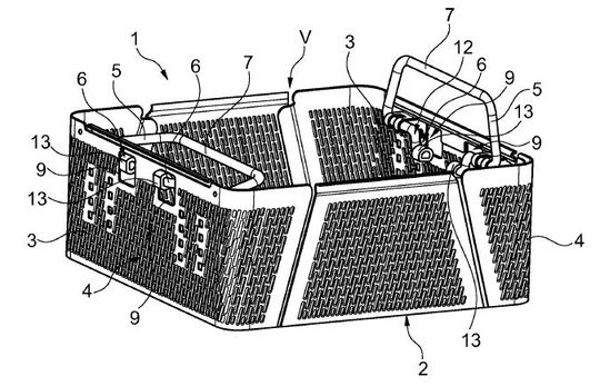
Eine Sterilisiersiebschale mit Fixiergriff.(Bild:  DPMA)
Eine Sterilisiersiebschale mit Fixiergriff.
(Bild: DPMA)

Die Erfindung betrifft eine Sterilisiersiebschale (1), die zum Einsetzen in und Entnehmen aus einer Containerwanne (101) vorgesehen und ausgebildet ist, wofür an wenigstens einer Siebschalenseitenwand (3) wenigstens ein, vorzugsweise bügelförmiger oder henkelförmiger, Siebschalengriff (5) bewegbar, insbesondere schwenkbar, gelagert ist, der einen Greifabschnitt hat, der über einen winklig zu dem Greifabschnitt ausgerichteten Verbindungssteg mit einem Lagerabschnitt verbunden ist, an welchem der Siebschalengriff (5) an einem siebschalenwandseitigen Lager gehalten ist und in zumindest eine Trageposition und in eine Fixierposition bewegbar, insbesondere schwenkbar, ist wobei die Sterilisiersiebschale ferner wenigstens einen vom Greifabschnitt beabstandeten Fixier- und/oder Andrückabschnitt (6) oder Element aufweist, der/das an der wenigstens einen Siebschalenseitenwand (3) gelagert ist und durch eine ausgewählte Bewegung des Siebschalengriffs (5) von der Siebschalenseitenwand (3) in Richtung außerhalb der Sterilisiersiebschale (1) bewegbar und/oder deformierbar ist, um sich gegen eine Containerwanne (101) anzulegen. Daneben betrifft die Erfindung ein Sterilisiersiebschalensystem und ein Containersystem (100) mit einer Sterilisiersiebschale gemäß den nebengeordneten Ansprüchen.

Patentdaten:

  • Aktenzeichen: DE 10 2020 131 104 A1
  • Anmeldetag: 24.11.2020
  • Offenlegungstag: 25.05.2022
  • Anmelder: Aesculap AG, 78532 Tuttlingen, DE
  • Erfinder: Henke, Matthias, 78048 Villingen-Schwenningen, DE; Luz, Sebastian, 78576 Emmingen-Liptingen, DE; Heizmann, Ramona, 78187 Geisingen, DE; Jakab, Mariana, 78532 Tuttlingen, DE

Die Angaben sind dem Depatisnet des Deutschen Patent- und Markenamtes im Original-Wortlaut entnommen.

Lesen Sie auch:

(ID:48391682)

Jetzt Newsletter abonnieren

Verpassen Sie nicht unsere besten Inhalte

Mit Klick auf „Newsletter abonnieren“ erkläre ich mich mit der Verarbeitung und Nutzung meiner Daten gemäß Einwilligungserklärung (bitte aufklappen für Details) einverstanden und akzeptiere die Nutzungsbedingungen. Weitere Informationen finde ich in unserer Datenschutzerklärung. Die Einwilligungserklärung bezieht sich u. a. auf die Zusendung von redaktionellen Newslettern per E-Mail und auf den Datenabgleich zu Marketingzwecken mit ausgewählten Werbepartnern (z. B. LinkedIn, Google, Meta).

Aufklappen für Details zu Ihrer Einwilligung