France

Medizintechnik-Patent der Woche Ortung des distalen Endes eines medizinischen Instruments

Quelle: DPMA 1 min Lesedauer

Anbieter zum Thema

Aus der Fülle an Einreichungen beim Deutschen Patent- und Markenamt (DPMA) präsentiert die Devicemed-Redaktion wöchentlich das „Patent der Woche“. Heute: die Ortung des distalen Endes eines medizinischen Instruments.

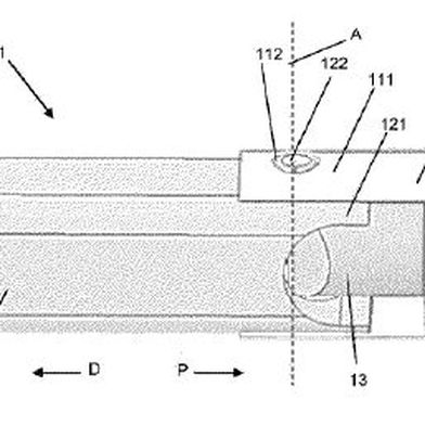
Ortung des distalen Endes eines medizinischen Instruments(Bild:  Siemens Healthineers AG/DPMA)
Ortung des distalen Endes eines medizinischen Instruments
(Bild: Siemens Healthineers AG/DPMA)

Das distale Ende (13) eines medizinischen Instruments (1) soll zuverlässiger geortet werden können. Dazu wird ein Datensatz bereitgestellt, der einen Verlauf eines Hauptgangs (6), eines ersten Abzweigs (8) von dem Hauptgang (6) und eines zweiten Abzweigs (9) von dem Hauptgang (6) beschreibt. Außerdem wird ein Verlauf (14, 15) des medizinischen Instruments (1) in dem Hauptgang (6) und einem von dem ersten oder zweiten Abzweig (8, 9) erfasst. Der Verlauf des Hauptgangs (6) und der beiden Abzweige (8, 9) wird zu dem Verlauf des medizinischen Instruments (1) registriert. Daraufhin werden ein erstes Ähnlichkeitsmaß bezüglich des Endabschnitts (15) zu dem ersten Abzweig (8) und ein zweites Ähnlichkeitsmaß von dem Endabschnitt (15) zu dem zweiten Abzweig (9) berechnet. Schließlich wird aus den Ähnlichkeitsmaßen eine Ortsinformation über das distale Ende (13) des medizinischen Instruments (1) ermittelt.

Patentdaten:

  • Aktenzeichen: DE 10 2023 206 855 A1
  • Anmeldetag: 19.07.2023
  • Offenlegungstag: 23.01.2025
  • Anmelder: Siemens Healthineers AG, München, DE
  • Erfinder: Pfister, Marcus, Dr., 91088 Bubenreuth, DE; Regensburger, Alois, Dr., 91099 Poxdorf, DE

Die Angaben sind dem Depatisnet des Deutschen Patent- und Markenamtes im Original-Wortlaut entnommen.

Lesen Sie auch:

(ID:50295503)

Jetzt Newsletter abonnieren

Verpassen Sie nicht unsere besten Inhalte

Mit Klick auf „Newsletter abonnieren“ erkläre ich mich mit der Verarbeitung und Nutzung meiner Daten gemäß Einwilligungserklärung (bitte aufklappen für Details) einverstanden und akzeptiere die Nutzungsbedingungen. Weitere Informationen finde ich in unserer Datenschutzerklärung. Die Einwilligungserklärung bezieht sich u. a. auf die Zusendung von redaktionellen Newslettern per E-Mail und auf den Datenabgleich zu Marketingzwecken mit ausgewählten Werbepartnern (z. B. LinkedIn, Google, Meta).

Aufklappen für Details zu Ihrer Einwilligung