France

Medizintechnik-Patent der Woche Implantatspritze

Quelle: DPMA 2 min Lesedauer

Anbieter zum Thema

Aus der Fülle an Einreichungen beim Deutschen Patent- und Markenamt (DPMA) präsentiert die Devicemed-Redaktion wöchentlich das „Patent der Woche“. Heute: eine Implantatspritze.

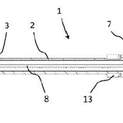
Implantatspritze(Bild:  Gaplast/DPMA)
Implantatspritze
(Bild: Gaplast/DPMA)

Die Implantatspritze mit einer Kanüle, mit einem Depot-Element zur Aufnahme eines Feststoffimplantats, mit einer Außenhülse mit einem radial überstehenden vorderen Griffabschnitt, mit dem die Kanüle, das Depot-Element und die Außenhülse gemeinsam axial bewegbar sind, mit einer Innenhülse, auf der die Außenhülse sitzt und in der die Kanüle mit dem Depot-Element verschiebbar ist, wobei die Innenhülse axiale Schlitze aufweist, die radiale Stege der Außenhülse durchgreifen, ferner mit einem stabförmigen Kolben, der an einem rückwärtigen Griffabschnitt befestigt ist und teilweise von einer hinteren Hülse umgeben ist, die verschieblich in die Innenhülse eingreifen kann, wobei der stabförmige Kolben durch das Depot-Element in die Kanüle so weit vorschiebbar ist, dass zwischen der Spitze der Kanüle und dem Kopfende des Kolbens ein Abstand verbleibt, der etwa gleich der Länge des abzugebenden Feststoffimplantats ist, wobei die Außenhülse in der vorgeschobenen Ausgangsstellung bei freiliegender Kanüle durch eine Blockiereinrichtung der Innenhülse lösbar arretiert ist und die Blockiereinrichtung beim Vorschub der hinteren Hülse in ihre Endstellung in die Freigabestellung bewegt wird, wodurch die Außenhülse mittels des vorderen Griffabschnitts auf der Innenhülse zurückziehbar ist, so dass die Kanüle vollständig in die Innenhülse eintritt, und wobei die Innenhülse aus einem vorderen Nadelschutz und einem hinteren Abstandhalter zusammengesetzt ist, die miteinander verrastet sind, ist dadurch gekennzeichnet, dass in zwei gegenüberliegenden Laschen des Nadelschutzes je ein Rastfenster ausgebildet ist, dass der Abstandshalter an entsprechenden Positionen zwei Rasthaken aufweisen und dass zum Verbinden der beiden Bauteile die Laschen über die Rasthaken des Abstandhalters gleiten, bis die Rasthaken in die Rastfenster einrasten.

Patentdaten:

  • Aktenzeichen: DE 10 2023 117 652 A1
  • Anmeldetag: 04.07.2023
  • Offenlegungstag: 09.01.2025
  • Anmelder: Gaplast GmbH, 82442 Saulgrub, DE
  • Erfinder: Kneer, Stephan, 82490 Farchant, DE; Kneer, Roland, 82490 Farchant, DE; Walter, Koller, 82497 Unterammergau, DE

Die Angaben sind dem Depatisnet des Deutschen Patent- und Markenamtes im Original-Wortlaut entnommen.

Lesen Sie auch:

(ID:50278852)

Jetzt Newsletter abonnieren

Verpassen Sie nicht unsere besten Inhalte

Mit Klick auf „Newsletter abonnieren“ erkläre ich mich mit der Verarbeitung und Nutzung meiner Daten gemäß Einwilligungserklärung (bitte aufklappen für Details) einverstanden und akzeptiere die Nutzungsbedingungen. Weitere Informationen finde ich in unserer Datenschutzerklärung. Die Einwilligungserklärung bezieht sich u. a. auf die Zusendung von redaktionellen Newslettern per E-Mail und auf den Datenabgleich zu Marketingzwecken mit ausgewählten Werbepartnern (z. B. LinkedIn, Google, Meta).

Aufklappen für Details zu Ihrer Einwilligung