France

Medizintechnik-Patent der Woche Operationsmikroskopisches System und Verfahren zum Betrieb desselben

Quelle: DPMA 1 min Lesedauer

Anbieter zum Thema

Aus der Fülle an Einreichungen beim Deutschen Patent- und Markenamt (DPMA) präsentiert die Devicemed-Redaktion wöchentlich das „Patent der Woche“. Heute: ein operationsmikroskopisches System und Verfahren zum Betrieb desselben.

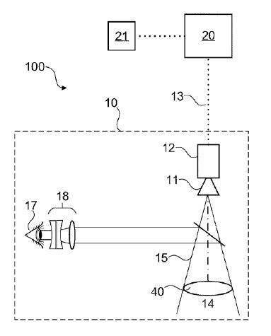
Operationsmikroskopisches System und Verfahren zum Betrieb desselben(Bild:  Carl Zeiss Meditec/DPMA)
Operationsmikroskopisches System und Verfahren zum Betrieb desselben
(Bild: Carl Zeiss Meditec/DPMA)

Die vorliegende Erfindung betrifft ein Verfahren zum Betrieb eines operationsmikroskopischen Systems (100) mit den Verfahrensschritten Erfassen (S100) eines Bildsignals (13) eines ausgewählten Sichtfelds (14) mittels zumindest eines bildgebenden Sensors (12) des operationsmikroskopischen Systems (100), Ermitteln (S200) einer in dem ausgewählten Sichtfeld (14) angeordneten vorbestimmten Struktur (50) anhand des erfassten Bildsignals (13), Ermitteln (S300) einer Eigenschaft der in dem ausgewählten Sichtfeld (14) angeordneten Struktur (50), Vergleich (S400) der ermittelten Eigenschaft der in dem ausgewählten Sichtfeld (14) angeordneten Struktur (50) mit einer Referenzinformation zu der vorbestimmten Struktur (50), und Ermitteln (S500) einer Kenngröße eines in den Strahlengang (15) des operationsmikroskopischen Systems (100) eingebrachten optischen Instruments (40) anhand des Vergleichs. Die vorliegende Erfindung betrifft ferner ein operationsmikroskopisches System (100) zum Durchführen eines solchen Verfahrens.

Patentdaten:

  • Aktenzeichen: DE 10 2023 108 488 A1
  • Anmeldetag: 03.04.2023
  • Offenlegungstag: 10.10.2024
  • Anmelder: Carl Zeiss Meditec AG, 07745 Jena, DE
  • Erfinder: Matz, Holger, 73485 Unterschneidheim, DE; Sorg, Benjamin, 73434 Aalen, DE

Die Angaben sind dem Depatisnet des Deutschen Patent- und Markenamtes im Original-Wortlaut entnommen.

Lesen Sie auch:

(ID:50203109)

Jetzt Newsletter abonnieren

Verpassen Sie nicht unsere besten Inhalte

Mit Klick auf „Newsletter abonnieren“ erkläre ich mich mit der Verarbeitung und Nutzung meiner Daten gemäß Einwilligungserklärung (bitte aufklappen für Details) einverstanden und akzeptiere die Nutzungsbedingungen. Weitere Informationen finde ich in unserer Datenschutzerklärung. Die Einwilligungserklärung bezieht sich u. a. auf die Zusendung von redaktionellen Newslettern per E-Mail und auf den Datenabgleich zu Marketingzwecken mit ausgewählten Werbepartnern (z. B. LinkedIn, Google, Meta).

Aufklappen für Details zu Ihrer Einwilligung