France

Medizintechnik-Patent der Woche Roboter-Chirurgiestation

Ein Gastbeitrag von Christian Metzger 2 min Lesedauer

Anbieter zum Thema

Aus der Fülle an Einreichungen beim Deutschen Patent- und Markenamt (DPMA) und Europäischen Patentamt (EPA) präsentiert die Devicemed-Redaktion wöchentlich das „Patent der Woche“. Heute: eine Roboter-Chirurgiestation.

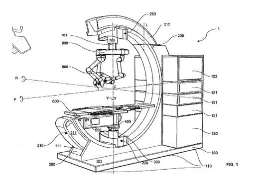
Eine Roboter-Chirurgiestation(Bild:  Univ Illinois/EPA)
Eine Roboter-Chirurgiestation
(Bild: Univ Illinois/EPA)

In der modernen Chirurgie spielen Roboter eine immer größere Rolle. Chirurgie-Roboter sind dabei meist recht sperrige Apparaturen, die auf Rollen herum gewuchtet werden müssen und gerade bei komplexeren Operationen viel von dem knappen Platz im Operationssaal in Anspruch nehmen. Zudem ist es i. d. R. recht zeitaufwändig und kompliziert, einen Operationsroboter neben dem OP-Tisch richtig zu positionieren und einzurichten.

Wenn sich daher in einer größeren Operation manuelle Operationsphasen und robotergestützte Operationsphasen abwechseln, vergeht relativ viel Zeit, um den Operationssaal entsprechend umzurüsten. Zeit, die insbesondere bei Notfällen der Patient eigentlich nicht hat.

Wie sieht die patentierte Lösung aus?

Die im Europäischen Patent EP4247291B1 geschützte Roboter-Chirurgiestation soll genau hier Abhilfe schaffen und einen schnellen Wechsel zwischen manuellen und robotergestützten Operationsphasen ermöglichen.

Bei der patentierten Roboter-Chirurgiestation sind hierzu der OP-Tisch 600 und ein mehrarmiger Roboter 800 beide unabhängig voneinander beweglich an einem C-Bogen befestigt. Zusätzlich kann der obere Teil des C-Bogens, an dem der Roboter befestigt ist, noch aus der C-Ebene herausgeschwenkt werden, um den OP-Tisch noch besser seitlich erreichen zu können.

Um den Operationssaal von einer robotergestützten zu einer manuellen Operationsphase umzurüsten, kann der Roboter innerhalb weniger Sekunden aus dem Weg geschwenkt werden, um dem menschlichen Operateur Platz zu machen.

Warum ist das interessant?

Das vorliegende Patent ist ein schönes Beispiel für ein klassisches Hardware-Patent. Geschützt werden der mechanische Aufbau und die Kinematik der Roboter-Chirurgiestation.

Patentdaten

  • Aktenzeichen: EP4247291B1
  • Anmeldetag: 09.11.2021
  • Veröffentlichungstag: 21.08.2024
  • Anmelder: Univ Illinois [US]
  • Erfinder: Giulianotti Pier Cristoforo [US], Vogler Andreas [DE]

Christian Metzger
Als Patentanwalt und Ingenieur unterstützt Christian Metzger Medizintechnik-Unternehmen beim Aufbau eines Patentportfolios, das die eigenen Innovationen vor Nachahmung schützt und den strategischen und unternehmerischen Bedürfnissen entspricht. Insbesondere dort, wo Medizintechnik auf Software und Digitalisierung trifft und digitale Maschinen entstehen.

Dabei kann er auf seine breite technologische und industrielle Erfahrung zurückgreifen, die er auch in seinen Jahren als Entwicklungsingenieur und – davor – als Unternehmensberater bei McKinsey & Company gesammelt hat.

Christian Metzger ist als Partner bei Realpatent Patentanwälte tätig, einer 1959 gegründeten Boutique-Patentanwaltskanzlei, die sich dem gewerblichen Rechtsschutz widmet.

Kontakt zu Christian Metzger auf Linkedin.

Bildquelle: Fotoatelier Starnberg (Nadine Abzouzi)

Lesen Sie auch

(ID:50184908)

Jetzt Newsletter abonnieren

Verpassen Sie nicht unsere besten Inhalte

Mit Klick auf „Newsletter abonnieren“ erkläre ich mich mit der Verarbeitung und Nutzung meiner Daten gemäß Einwilligungserklärung (bitte aufklappen für Details) einverstanden und akzeptiere die Nutzungsbedingungen. Weitere Informationen finde ich in unserer Datenschutzerklärung. Die Einwilligungserklärung bezieht sich u. a. auf die Zusendung von redaktionellen Newslettern per E-Mail und auf den Datenabgleich zu Marketingzwecken mit ausgewählten Werbepartnern (z. B. LinkedIn, Google, Meta).

Aufklappen für Details zu Ihrer Einwilligung