France

Medizintechnik-Patent der Woche Medizinisches Set zur Distraktion von Wirbelkörpern

Quelle: DPMA 1 min Lesedauer

Anbieter zum Thema

Aus der Fülle an Einreichungen beim Deutschen Patent- und Markenamt (DPMA) präsentiert die Devicemed-Redaktion wöchentlich das „Patent der Woche“. Heute: ein medizinisches Set zur Distraktion von Wirbelkörpern.

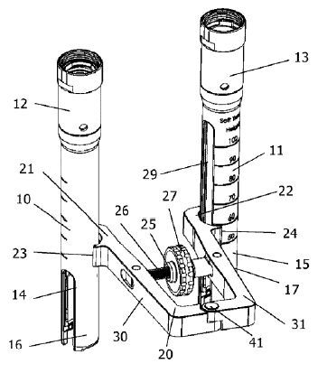
Medizinisches Set zur Distraktion von Wirbelkörpern(Bild:  HumanTech Spine GmbH/DPMA)
Medizinisches Set zur Distraktion von Wirbelkörpern
(Bild: HumanTech Spine GmbH/DPMA)

Medizinisches Set zur Distraktion von Wirbelkörpern, insbesondere bei der Behandlung von Wirbelkörperfrakturen, zur Verwendung mit wenigstens einem ersten und einem zweiten Halteelement (10, 11), wobei jedes der Halteelemente (10, 11) einen Distalabschnitt (12, 13) und einen Proximalabschnitt (14, 15) mit einem proximalen Ende (16, 17) zur Aufnahme eines Knochenankers (18), insbesondere Knochenschraube, umfasst, wobei das Set wenigstens eine Kompressionseinrichtung (19) aufweist, die im Gebrauch mit dem Distalabschnitt (12, 13) jeweils des ersten und zweiten Halteelements (10, 11) verbindbar und dazu ausgebildet ist, den Abstand zwischen den Distalabschnitten (12, 13) des ersten und zweiten Halteelements (10, 11) zu verändern, wobei das Set wenigstens eine Abstandshaltereinrichtung (20) mit einem ersten Aufnahmeelement (21) und einem zweiten Aufnahmeelement (22) aufweist, wobei das erste Aufnahmeelement (21) zur Anordnung am ersten Halteelement (10) korrespondierend zu einem Ansatzabschnitt (23) des Proximalabschnitts (14) des ersten Halteelements (10) und das zweite Aufnahmeelement (22) zur Anordnung am zweiten Halteelement (11) korrespondierend zu einem Ansatzabschnitt (24) des Proximalabschnitts (15) des zweiten Halteelements (11) ausgebildet ist, um bei einer Abstandsänderung der Distalabschnitte (12, 13) des ersten und zweiten Halteelements (10, 11) durch die Kompressionseinrichtung (19) einen Drehbereich auszubilden und/oder eine Rotation der Halteelemente (10, 11) um die Ansatzabschnitte (23, 24) zu induzieren.

Patentdaten:

  • Aktenzeichen: DE 10 2023 133 177 A1
  • Anmeldetag: 28.11.2023
  • Offenlegungstag: 28.05.2025
  • Anmelder: HumanTech Spine GmbH, 71144 Steinenbronn, DE
  • Erfinder: Hutzel, Jochen, 70567 Stuttgart, DE

Die Angaben sind dem Depatisnet des Deutschen Patent- und Markenamtes im Original-Wortlaut entnommen.

Lesen Sie auch:

(ID:50437410)

Jetzt Newsletter abonnieren

Verpassen Sie nicht unsere besten Inhalte

Mit Klick auf „Newsletter abonnieren“ erkläre ich mich mit der Verarbeitung und Nutzung meiner Daten gemäß Einwilligungserklärung (bitte aufklappen für Details) einverstanden und akzeptiere die Nutzungsbedingungen. Weitere Informationen finde ich in unserer Datenschutzerklärung. Die Einwilligungserklärung bezieht sich u. a. auf die Zusendung von redaktionellen Newslettern per E-Mail und auf den Datenabgleich zu Marketingzwecken mit ausgewählten Werbepartnern (z. B. LinkedIn, Google, Meta).

Aufklappen für Details zu Ihrer Einwilligung