France

Medizintechnik-Patent der Woche Medizinisches Instrument mit gleichmäßiger Ganghärte

Quelle: DPMA

Anbieter zum Thema

Heute: ein medizinisches Instrument mit gleichmäßiger Ganghärte. Die Medizintechnik-Industrie ist führend bei der Anmeldung von Patenten. Aus der Fülle an Einreichungen beim Deutschen Patent- und Markenamt wählt die Devicemed-Redaktion wöchentlich ihr Patent der Woche.

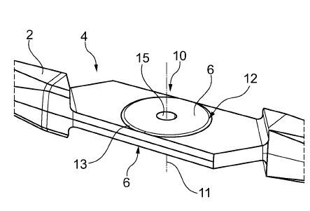
Ein medizinisches Instrument mit gleichmäßiger Ganghärte.(Bild:  DPMA)
Ein medizinisches Instrument mit gleichmäßiger Ganghärte.
(Bild: DPMA)

Die Erfindung betrifft ein medizinisches Instrument (1) mit einer ersten Instrumentenbranche (2), die einen ersten Lagerabschnitt (4) mit einer ersten Lauffläche (6) aufweist, und mit einer zweiten Instrumentenbranche (3), die einen zweiten Lagerabschnitt (5) mit einer zweiten Lauffläche (7) aufweist, an dem die erste Lauffläche (4) flächig schwenkgleitend aufliegt, so dass die erste Instrumentenbranche (2) zu der zweiten Instrumentenbrachen (3) um eine Schwenkachse (11) schwenkbar ist, wobei der erste Lagerabschnitt (4) und/oder der zweite Lagerabschnitt (5) im Bereich der Schwenkachse (11) einen Absatzabschnitt (12) oder ein Absatzelement mit einer die zugehörige Lauffläche (6, 7) aufweisenden Stirnseite hat, der/das in Richtung einer Schwenkachse (11) des medizinischen Instruments (1) gegenüber dem zugehörigen Lagerabschnitt (4, 5) nach außen abgesetzt ist, so dass die zugehörige Lauffläche (6, 7) gegenüber dem zugehörigen Lagerabschnitt (4, 5) nach außen abgesetzt ist.

Patentdaten:

  • Aktenzeichen: DE 10 2020 127 497 A1
  • Anmeldetag: 19.10.2020
  • Offenlegungstag: 21.04.2022
  • Anmelder: Aesculap AG, 78532 Tuttlingen, DE; B. Braun Medical Industries Sdn. Bhd., Penang, MY
  • Erfinder: Barthelmes, Sven, 78576 Emmingen-Liptingen, DE; Loesdau, Holger, 78573 Wurmlingen, DE; Stark, Christian, 78532 Tuttlingen, DE; Knecht, Markus, Penang, MY

Die Angaben sind dem Depatisnet des Deutschen Patent- und Markenamtes im Original-Wortlaut entnommen.

Lesen Sie auch:

(ID:48228823)

Jetzt Newsletter abonnieren

Verpassen Sie nicht unsere besten Inhalte

Mit Klick auf „Newsletter abonnieren“ erkläre ich mich mit der Verarbeitung und Nutzung meiner Daten gemäß Einwilligungserklärung (bitte aufklappen für Details) einverstanden und akzeptiere die Nutzungsbedingungen. Weitere Informationen finde ich in unserer Datenschutzerklärung. Die Einwilligungserklärung bezieht sich u. a. auf die Zusendung von redaktionellen Newslettern per E-Mail und auf den Datenabgleich zu Marketingzwecken mit ausgewählten Werbepartnern (z. B. LinkedIn, Google, Meta).

Aufklappen für Details zu Ihrer Einwilligung