France

Medizintechnik-Patent der Woche Medizingerät zur Überwachung einer Patientenlagerung

Quelle: DPMA

Anbieter zum Thema

Heute: ein Medizingerät zur Überwachung einer Patientenlagerung. Die Medizintechnik-Industrie ist führend bei der Anmeldung von Patenten. Aus der Fülle an Einreichungen beim Deutschen Patent- und Markenamt wählt die Devicemed-Redaktion wöchentlich ihr Patent der Woche.

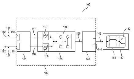
Ein Medizingerät zur Überwachung einer Patientenlagerung.(Bild:  Dräger/DPMA)
Ein Medizingerät zur Überwachung einer Patientenlagerung.
(Bild: Dräger/DPMA)

Die Erfindung betrifft ein Medizingerät (100) zur Überwachung einer Patientenlagerung (592), mit einer Lagedaten-Schnittstelle (110), einer Respirationsdaten-Schnittstelle (120), einer Verarbeitungseinheit (130) und einer Ausgabeeinheit (140). Die Lagedaten-Schnittstelle ist ausgebildet, ein Patientenlagesignal (112) zu empfangen, wobei das Patientenlagesignal eine Patientenlageinformation (114) zu einem Patienten innerhalb der Patientenlagerung indiziert. Die Respirationsdaten-Schnittstelle ist ausgebildet, ein Patientenrespirationssignal (122) zu empfangen, wobei das Patientenrespirationssignal mindestens einen Messwert (125) eines Respirationsparameters (124) einer Atmung des Patienten indiziert. Die Verarbeitungseinheit ist ausgebildet, aus der Patientenlageinformation einen Patienten-Rotationswinkel (115) zu bestimmen, wobei der Patienten-Rotationswinkel eine Drehung des Patienten um eine durch Kopf und Füße des Patienten definierte Patientenachse (598) beschreibt, und wobei die Verarbeitungseinheit weiter ausgebildet ist, die Messwerte des Patientenrespirationssignals zusammen mit dem bestimmten Patienten-Rotationswinkel zeitlich synchronisiert zu verarbeiten und eine entsprechende Vergleichsausgabe (132) auszulösen.

Patentdaten:

  • Aktenzeichen: DE 10 2021 114 801 A1
  • Anmeldetag: DE 10 2021 114 801 A1
  • Offenlegungstag: 15.12.2022
  • Anmelder: Drägerwerk AG & Co. KGaA, 23558 Lübeck, DE
  • Erfinder: Franz, Frank, 23558 Lübeck, DE; Diesel, Jasper, 23558 Lübeck, DE

Die Angaben sind dem Depatisnet des Deutschen Patent- und Markenamtes im Original-Wortlaut entnommen.

Lesen Sie auch:

(ID:48958789)

Jetzt Newsletter abonnieren

Verpassen Sie nicht unsere besten Inhalte

Mit Klick auf „Newsletter abonnieren“ erkläre ich mich mit der Verarbeitung und Nutzung meiner Daten gemäß Einwilligungserklärung (bitte aufklappen für Details) einverstanden und akzeptiere die Nutzungsbedingungen. Weitere Informationen finde ich in unserer Datenschutzerklärung. Die Einwilligungserklärung bezieht sich u. a. auf die Zusendung von redaktionellen Newslettern per E-Mail und auf den Datenabgleich zu Marketingzwecken mit ausgewählten Werbepartnern (z. B. LinkedIn, Google, Meta).

Aufklappen für Details zu Ihrer Einwilligung