France

Medizintechnik-Patent der Woche Holographisch-endoskopische Bildgebung und minimalinvasive medizinische Operationen

Quelle: DPMA 1 min Lesedauer

Anbieter zum Thema

Aus der Fülle an Einreichungen beim Deutschen Patent- und Markenamt wählt die Devicemed-Redaktion wöchentlich ihr „Patent der Woche“. Heute: holographisch-endoskopische Bildgebung und minimalinvasive medizinische Operationen.

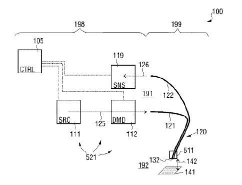
Holographisch-endoskopische Bildgebung und minimalinvasive medizinische Operationen(Bild:  Carl Zeiss Meditec/DPMA)
Holographisch-endoskopische Bildgebung und minimalinvasive medizinische Operationen
(Bild: Carl Zeiss Meditec/DPMA)

Es werden Techniken beschrieben, wie ein holographisch-endoskopisches Bildgebungssystem (521) im Zusammenhang mit einer medizinisch wirksamen Aktion z. B. im Zusammenhang mit einer minimalinvasiven Operation verwendet werden kann. Das holographisch-endoskopische Bildgebungssystem kann mit einem Implantat oder einem chirurgischen Instrument, wie z. B. einer Kanüle oder Nadelspitze, kombiniert werden.

Patentdaten:

  • Aktenzeichen: DE 10 2023 109 883 A1
  • Anmeldetag: 19.04.2023
  • Offenlegungstag: 11.04.2024
  • Anmelder: Carl Zeiss Meditec AG, 07745 Jena, DE
  • Erfinder: Hauger, Christoph, 73431 Aalen, DE; Schaeff, Christoph, 73431 Aalen, DE; Panitz, Gerald, 73441 Bopfingen, DE

Die Angaben sind dem Depatisnet des Deutschen Patent- und Markenamtes im Original-Wortlaut entnommen.

Lesen Sie auch:

(ID:49995823)

Jetzt Newsletter abonnieren

Verpassen Sie nicht unsere besten Inhalte

Mit Klick auf „Newsletter abonnieren“ erkläre ich mich mit der Verarbeitung und Nutzung meiner Daten gemäß Einwilligungserklärung (bitte aufklappen für Details) einverstanden und akzeptiere die Nutzungsbedingungen. Weitere Informationen finde ich in unserer Datenschutzerklärung. Die Einwilligungserklärung bezieht sich u. a. auf die Zusendung von redaktionellen Newslettern per E-Mail und auf den Datenabgleich zu Marketingzwecken mit ausgewählten Werbepartnern (z. B. LinkedIn, Google, Meta).

Aufklappen für Details zu Ihrer Einwilligung