France

Medizintechnik-Patent der Woche Container für Dentalimplantate

Quelle: DPMA 1 min Lesedauer

Anbieter zum Thema

Aus der Fülle an Einreichungen beim Deutschen Patent- und Markenamt (DPMA) präsentiert die Devicemed-Redaktion wöchentlich das „Patent der Woche“. Heute: ein Container für Dentalimplantate.

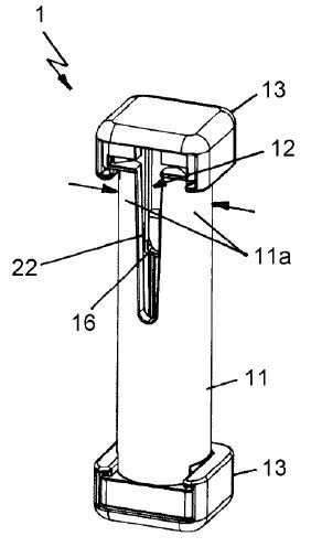
Container für Dentalimplantate(Bild:  Gebrüder Klöcker/DPMA)
Container für Dentalimplantate
(Bild: Gebrüder Klöcker/DPMA)

Die Erfindung betrifft einen Container (1) für ein Dentalimplantat (10), aufweisend einen Aufnahmekörper (11) mit einem Aufnahmeraum (12), in den das Dentalimplantat (10) einbringbar ist, und aufweisend ein Deckelelement (13), mit dem der Aufnahmeraum (12) wenigstens teilweise verschließbar ist und das das Dentalimplantat (10) im Aufnahmeraum (12) sichert, wobei das Dentalimplantat (10) eine Längsachse (14) aufweist, die mit einer Hauptachse (15) des Aufnahmekörpers (11) zusammenfällt. Erfindungsgemäß ist der Aufnahmeraum (12) zur Aufnahme des Dentalimplantates (10) so bestimmt, dass das Dentalimplantat (10) in der Hauptachse (15) des Aufnahmekörpers (11) ein Axialspiel (s) zur Innenseite des Deckelelementes (13) aufweist (1).

Patentdaten:

  • Aktenzeichen: DE 10 2024 129 418 A1
  • Anmeldetag: 11.10.2024
  • Offenlegungstag: 16.04.2026
  • Anmelder: Gebrüder Klöcker GmbH, 46325 Borken, DE
  • Erfinder: Schwemmlein, Christoph, 90478 Nürnberg, DE; Witt, Andreas, 46325 Borken, DE

Die Angaben sind dem Depatisnet des Deutschen Patent- und Markenamtes im Original-Wortlaut entnommen.

Lesen Sie auch:

(ID:50819580)

Jetzt Newsletter abonnieren

Verpassen Sie nicht unsere besten Inhalte

Mit Klick auf „Newsletter abonnieren“ erkläre ich mich mit der Verarbeitung und Nutzung meiner Daten gemäß Einwilligungserklärung (bitte aufklappen für Details) einverstanden und akzeptiere die Nutzungsbedingungen. Weitere Informationen finde ich in unserer Datenschutzerklärung. Die Einwilligungserklärung bezieht sich u. a. auf die Zusendung von redaktionellen Newslettern per E-Mail und auf den Datenabgleich zu Marketingzwecken mit ausgewählten Werbepartnern (z. B. LinkedIn, Google, Meta).

Aufklappen für Details zu Ihrer Einwilligung